PC/104
PC/104 — шина расширения (которая также дала название формату плат), созданная на базе 8-разрядного варианта шины ISA. Отличительной особенностью механического конструктива PC/104 является расположение контактов не на ребре платы, а перпендикулярно ей, что позволяет устанавливать платы друг на друга как бутерброды.
Такая конструкция позволяет собрать до 3-6 плат в один большой «сэндвич» и разместить его в компактном герметичном корпусе, который будет иметь большую ударопрочность.[1] Подобный подход широко применяется в авионике, космонавтике, военной технике.
С появлением шины PCI появился новый стандарт PC/104+ иногда называемый PC/104Plus, в который добавлена шина PCI. Платы PC/104 и PC/104+ совместимы между собой.
Разъём для плат PC/104 и PC/104+ довольно часто устанавливают на боковую поверхность плат MicroPC и других плат, предназначенных для промышленных компьютеров, встроенных систем, телекоммуникации, цифровых приборов в качестве мезонинной платы. Это позволяет при отсутствии на стандартной процессорной плате какого-либо нужного элемента (модулей аналогового или дискретного ввода-вывода, модема, датчика GPS, ГЛОНАСС, сетевого интерфейса промышленной сети, например CANbus), просто добавить на неё 1-2 платы PC/104 (+). При этом решение получается очень компактным и отпадает необходимость в разработке новой платы.
Недостатки
- Низкоскоростная шина ISA — устарела.
- Горячей замены плат не может быть в принципе, так как разобрать собранный «сэндвич» из плат непросто.
Достоинства
- Полная совместимость с персональными компьютерами
- Можно использовать в качестве мезонинной платы
- Шина ISA очень хорошо изучена, много специалистов
- Большая скорость обычно не требуется, при необходимости можно использовать PC/104+
- Большая ударопрочность
PCI Express в форм-факторе PC/104



24 марта 2008 года Консорциум PC/104 адаптировал спецификацию PC/104 под современные требования путём использования в ней интерфейса PCI Express.[3] Соответствующие спецификации получили наименования PCI/104-Express и PCIе/104. Стандарт PCI/104-Express является комбинированным, так как в своей последней версии сохранил поддержку шины PCI, а также получил дополнительный разъем - для интерфейса PCI Express на месте бывшей шины ISA. В платах же PCIe/104 предусмотрена установка только разъема PCI Express, при этом место под бывший разъём PCI осталось свободным. В 2013 году стандарт PCIe/104 получил две версии с поддержкой PCI Express Gen2 и Gen3.
В свою очередь, некоммерческая промышленная группа The Small Form-Factor Special Interest Group (SFF-SIG) в апреле 2008 года официально представила альтернативную спецификацию Express104, которая после модификации получила в августе 2009 года наименование SUMIT-ISM[3].
В отличие от PCIe/104 в платах SUMIT-ISM разъемы PCI Express установлены на месте бывшего разъема PCI, тогда как место под бывший разъем ISA осталось не задействованным.
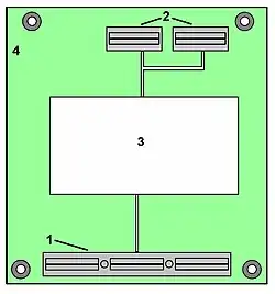
Учитывая эту специфику, а также то, что все новые спецификации сохранили полную совместимость с PC/104 по габаритам плат (90,17×95,89 мм), модули PCIe/104 и SUMIT-ISM можно легко стыковать друг с другом, используя простой адаптер (см. рисунки справа, где цифрами обозначены: "1" - разъем PCI Express для платы PCIe/104, "2" - разъем PCI Express для модуля SUMIT-ISM, "3" - электронный блок (опционально)).[2] Это позволяет совмещать изделия столь разных стандартов в одном оборудовании.
Примечания
- ↑ Буравлев.А. Процессорные платы PC/104: новые задачи, новые стандарты, новые возможности. – Современные технологии автоматизации, 2007, № 3, с. 12–15. Архивная копия от 12 июля 2014 на Wayback Machine.
- 1 2 3 Патент Украины на полезную модель № 38252. МПК (2006) G 01S 13/00, G 01S 7/02, H 02K 15/00. Адаптерный модуль формата PC/104. // Слюсар В.И., Васильєв К.А. - Заявка на выдачу патенту Украины на полезную модель № u200810538 от 20.08.2008. - Патент опубл. 25.12.2008, бюл. № 24. Архивная копия от 20 апреля 2016 на Wayback Machine
- 1 2 Слюсар В.И. PCI Express в формате PC/104: возможности новых стандартов.// Электроника: наука, технология, бизнес. – 2010. – № 1. – С. 68 – 77. Архивная копия от 6 апреля 2016 на Wayback Machine
Ссылки
- PC/104 Embedded Consortium (англ.)
- PC/104 Specifications v2.6 (PDF), (англ.)