Ультразвуковой двигатель

Ультразвуково́й дви́гатель (Ультразвуковой мотор, Пьезодвигатель, Пьезомагнитный двигатель, Пьезоэлектрический двигатель), (англ. USM — Ultra Sonic Motor, SWM — Silent Wave Motor, HSM — Hyper Sonic Motor, SDM — Supersonic Direct-drive Motor и др.) — двигатель, в котором рабочим элементом является пьезоэлектрическая керамика, благодаря которой он способен преобразовать электрическую энергию в механическую с очень большим КПД, превышающим у отдельных видов 90 %. Это позволяет получать уникальные приборы, в которых электрические колебания прямо преобразуются во вращательное движение ротора, при этом крутящий момент, развиваемый на валу такого двигателя, столь велик, что исключает необходимость применения какого-либо механического редуктора для повышения крутящего момента. Также данный двигатель обладает выпрямительными свойствами гладкого фрикционного контакта. Эти свойства проявляются и на звуковых частотах. Такой контакт является аналогом электрического выпрямительного диода. Поэтому ультразвуковой двигатель можно отнести к фрикционным электромоторам.

История создания и применения

В 1947 году были получены первые керамические образцы титаната бария, и уже с этого времени производство пьезоэлектрических моторов стало теоретически возможным. Но первый такой мотор появился лишь спустя 20 лет. Изучая пьезоэлектрические трансформаторы в силовых режимах, сотрудник Киевского политехнического института В. В. Лавриненко обнаружил вращение одного из них в держателе. Разобравшись в причине этого явления, он в 1964 году создаёт первый пьезоэлектрический мотор вращения, а вслед за ним — и линейный мотор для привода реле[1][2]. За первым мотором с прямым фрикционным контактом он создаёт группы нереверсивных моторов[3] с механической связью пьезоэлемента с ротором через толкатели. На этой основе он предлагает десятки конструкций нереверсивных моторов, перекрывающих диапазон скоростей от 0 до 10 000 об/мин и диапазон моментов вращения от 0 до 100 Нм. Используя два нереверсивных мотора, Лавриненко оригинально решает проблему реверса. Интегрально на валу одного мотора он устанавливает второй мотор. Проблему ресурса мотора он решает, возбуждая крутильные колебания в пьезоэлементе.

На десятилетия опережая подобные работы в стране и за рубежом, Лавриненко разработал практически все основные принципы построения пьезоэлектрических моторов, не исключив при этом возможность работы их в режиме генераторов электрической энергии.

Учитывая перспективность разработки, Лавриненко совместно с соавторами, помогавшими ему реализовать его предложения, он защищает многочисленными авторскими свидетельствами и патентами. В Киевском Политехническом институте создаётся отраслевая лаборатория пьезоэлектрических моторов под руководством Лавриненко, организуется первое в мире серийное производство пьезомоторов для видеомагнитофона «Электроника-552». Впоследствии серийно производятся моторы для диапроекторов «Днепр-2», кинокамер, приводов шаровых кранов и др. В 1980 году издательство «Энергия» печатает первую книгу по пьезоэлектрическим моторам[4], к ним появляется интерес. Начинаются активные разработки пьезомоторов в Каунасском политехническом институте под руководством проф. Рагульскиса К. М.[5]. Вишневский В. С., в прошлом аспирант Лавриненко, выезжает в Германию, где продолжает работу по внедрению линейных пьезоэлектрических моторов на фирме PHyzical Instryment. Постепенное изучение и разработка пьезоэлектрических моторов выходит за пределы СССР[6]. В Японии и Китае активно разрабатываются и внедряются волновые двигатели, в Америке — сверхминиатюрные двигатели вращения.

Конструкция

Ультразвуковой двигатель имеет значительно меньшие габариты и массу по сравнению с аналогичным по силовым характеристикам электромагнитным двигателем. Отсутствие обмоток, пропитанных склеивающими составами, делает его пригодным для использования в условиях вакуума. Ультразвуковой двигатель обладает значительным моментом самоторможения (до 50 % от величины максимального крутящего момента) при отсутствии питающего напряжения за счёт своих конструктивных особенностей. Это позволяет обеспечивать очень малые дискретные угловые перемещения (от единиц угловых секунд) без применения каких-либо специальных мер. Это свойство связано с квазинепрерывным характером работы пьезодвигателя. Действительно, пьезоэлемент, который преобразует электрические колебания в механические питается не постоянным, а переменным напряжением резонансной частоты. При подаче одного или двух импульсов можно получить очень маленькое угловое перемещение ротора. Например, некоторые образцы ультразвуковых двигателей, имеющие резонансную частоту 2 МГц и рабочую частоту вращения 0,2-6 об/сек, при подаче одиночного импульса на обкладки пьезоэлемента дадут в идеальном случае угловое перемещение ротора в 1/9 900 000-1/330 000 от величины окружности, то есть 0,13-3,9 угловой секунды.[7]

Одним из серьёзных недостатков такого двигателя является значительная чувствительность к попаданию в него твёрдых веществ (например песка). С другой стороны, пьезодвигатели могут работать в жидкой среде, например, в воде или в масле.

Принцип работы линейного пьезодвигателя, работающего на периодическом зацеплении

На «гибкий» статор (тонкая биморфная пластина, чем тоньше пластина, тем больше амплитуда колебаний и тем ниже частота резонанса) «подаётся» переменное напряжение высокой частоты, которое вынуждает его производить ультразвуковые колебания, формирующие механическую бегущую волну, которая и толкает (зацепляет) расположенный рядом ротор. При движении влево толкатель — расклинивает, при движении вправо — заклинивает. На этом принципе работают все пьезоэлектрические моторы с толкателями. Увеличивая число толкателей можно создавать моторы с огромными пусковыми моментами.

Но если обычный электродвигатель можно сделать практически «на коленке», ультразвуковой двигатель с высоким КПД 80-90% без сложного оборудования создать нельзя. Всё же сделать ультразвуковой двигатель в домашних условиях возможно, но КПД не будет превышать 60%, для этого в качестве ротора можно взять шарикоподшипник и прижать к нему пьезопластину с согласованными размерами.

Принцип работы пьезодвигателя вращения, работающего на трении

Пьезодвигатель вращения
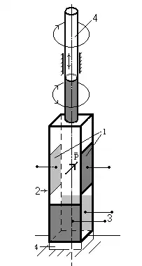
Пьезоэлемент с двумя парами электродов

В основе работы пьезоэлектрических двигателей вращения лежит принцип, согласно которому все точки пьезоэлемента, входящие в контакт с ротором, должны двигаться по траекториям близким к эллиптическим. Для этого в пьезоэлементе одновременно возбуждают два типа взаимно ортогональных колебаний. Это может быть любое сочетание взаимно поперечных продольных, изгибных, сдвиговых и крутильных колебаний. Важным лишь является то, что эти колебания не должны быть механически связанными, то есть энергия с одного колебания не должна переходить в другое колебание (в квадратной пластине возбуждение продольных колебаний по её одной стороне приведёт к возбуждению продольных колебаний по другой стороне, что является примером связанности колебаний). Если колебания механически несвязанны, то между ними можно получить любой сдвиг фазы. А оптимальным для пьезоэлектрических моторов является сдвиг фазы, равный 90 градусам. В простейшем моторе (рис.3) в пьезоэлементе электрически возбуждены продольные по длине волны, а поперечные волны — изгибные -- возбуждаются при движении конца пьезоэлемента по поверхности ротора. Размеры пьезоэлемента подбираются так, чтобы был механический резонанс и продольных и поперечных колебаний. Тогда коэффициент полезного действия может превышать 80 %. Для таких моторов фрикционный контакт между ротором и статором происходит по линии, что снижает их ресурс. Возбуждая одними электродами (1), рис. 4 в пьезоэлементе (2) крутильные колебания, а другими электродами (3) — продольные колебания можно создать мотор с плоским фрикционным контактом. Проблему ресурса Лавриненко решает таким способом. Он использует свойство наклонённой и прижатой к гладкой поверхности пластины изменять усилие прижима при движении в одну и противоположную сторону.

Преимущества пьезодвигателей

Одним из самых важных преимуществ данных типов двигателей является то, что для любой скорости вращения возможен прямой привод. В конструктивном отношении значительно упрощается привод и в ряде случаев существенно возрастает КПД, который «съедает» редуктор. Именно это свойство позволило разрабатывать приводы шаровых кранов с любым проходным сечением (рис. 5) и осуществить их серийное производство.

Привод шарового крана на основе пьезодвигателя

По быстродействию пьезоэлектрическим моторам нет равных. Это связано с тем, что их мощность не зависит от массы ротора, как это имеет место для электромагнитных моторов. За доли миллисекунды они набирают нужную скорость и могут конкурировать даже с дорогостоящими пьезоэлектрическими актюаторами, например, для топливных инжекторов.

Минимальный шаг пьезомоторов может составлять тысячные доли угловой секунды. На их основе создаются направляющие микроскопов, работающие в нанометровом диапазоне. Для бытовых низкооборотных приборов, из-за отсутствия редуктора, они бесшумны и не выделяют запаха от подгоревших обмоток, которых у них нет. Заторможенность ротора в отключённом состоянии, пластичность формы, способность интегрально вписываться в изделие также бывают полезными.

Пьезоэлектрические моторы могут полностью изготовляться из немагнитных материалов. Некоторые из них могут работать в условиях высоких температур (вплоть до 300 градусов Цельсия), в вакууме, в сильных магнитных полях, в условиях повышенной радиации, при погружении в воду или в масло.

Применение

Ультразвуковой двигатель объектива с автофокусом

Ультразвуковой двигатель может с успехом использоваться в тех областях техники, где необходимо достижение минимальных угловых и линейных перемещений. Например, в астрономии, в космических исследованиях, где требуется точная ориентировка по весьма малым объектам (звёздам); в ускорителях заряженных частиц, где необходимо удерживать пучок в строго заданных геометрических координатах; в научных исследованиях при изучении кристаллографической структуры (ориентировка головки гониометра); в робототехнике и т. д.

На основе пьезоэлектрических моторов разрабатывались: приводы антенн и камер наблюдения, электробритвы, приводы режущего инструмента, лентопротяжные механизмы, башенные уличные часы, приводы шаровых кранов, низкооборотные (2 об/мин) приводы рекламных платформ, электродрели, приводы детских игрушек и подвижных протезов, потолочные вентиляторы, приводы роботов и т. д.

Волновые пьезоэлектрические моторы также используются в объективах для однообъективных зеркальных фотоаппаратов. Вариации названия технологии в таких объективах различных производителей:

  • Canon — USM, UltraSonic Motor;
  • Minolta, Sony — SSM, SuperSonic Motor;
  • Nikon — SWM, Silent Wave Motor;
  • Olympus — SWD, Supersonic Wave Drive;
  • Panasonic — XSM, Extra Silent Motor;
  • Pentax — SDM, Supersonic Drive Motor;
  • Sigma — HSM, Hyper Sonic Motor;
  • Tamron — USD, Ultrasonic Silent Drive, PZD, Piezo Drive.
  • SamsungSSA, Super Sonic Actuator;

В станкостроении такие двигатели применяются для сверхточного позиционировании режущего инструмента.

К примеру, есть специальные резцедержатели для токарных станков с микроприводом резца.

См. также

Литература

  • Авторское свидетельство № 217509 «Электрический двигатель», авт. Лавриненко В. В., Некрасов М. М. по заявке № 1006424 с приор. от 10 мая 1965 г.
  • США, Патент № 4.019.073, 1975 г.
  • США, Патент № 4.453.103, 1982 г.
  • США, Патент № 4.400.641, 1982 г.
  • Пьезоэлектрические двигатели. В. В. Лавриненко, И. А. Карташев, В. С. Вишневский. Изд."Энергия" 1980 г.
  • Вибродвигатели. Р. Ю. Бансявичюс,К. М. Рагульскис. Изд. «Мокслас» 1981 г.
  • Survey of the variousoperating principles of ultrasonicpiezomotors. K.Spanner, White Paper for ACTUATOR 2006.
  • Принципы построения пьезоэлектрических моторов. В. Лавриненко, ISBN 978-3-659-51406-7, ISBN 3659514063, изд. «Lambert», 2015, 236с.

Ссылки

Примечания

  1. Авторское свидетельство № 217509 «Электрический двигатель», авт. Лавриненко В. В., Некрасов М. М. по заявке № 1006424 с приоритетом от 10 мая 1965 г.
  2. США, Патент № 4.019.073,1975 г.
  3. США, Патент № 4.453.103, 1982 г.
  4. Пьезоэлектрические двигатели. В. В. Лавриненко, И. А. Карташев, В. С. Вишневский. Изд. «Энергия» 1980 г.
  5. Вибродвигатели. Р. Ю. Бансявичюс,К. М. Рагульскис. Изд. «Мокслас» 1981 г.
  6. Survey of the variousoperating principles of ultrasonicpiezomotors. K. Spanner, White Paper for ACTUATOR 2006.
  7. SciTecLibrary — База Данных Технологий. Дата обращения: 30 января 2009. Архивировано 31 января 2009 года.