Сокол-Автомат
| Сокол-Автомат | |
|---|---|
| |
| Тип | дальномерный фотоаппарат |
| Производитель | ЛОМО |
| Год выпуска | 1966—1978 |
| Объектив | «Индустар-70» 2,8/50, несъёмный |
| Фотоматериал | плёнка типа 135 |
| Размер кадра | 36 × 24 мм |
| Фокусировка | дальномер с базой 70 мм[1] |
| Экспозиция | пятипрограммный автомат |
| Затвор | центральный, выдержки 1/30 — 1/500 с и «В» |
| Фотовспышка | два кабельных синхроконтакта «Х» и «М» |
| Видоискатель | оптический, с подсвеченной рамкой, совмещён с дальномером, с автоматической коррекцией паралакса |
| Размеры | 140 × 90 × 85 мм[2] |
| Вес | 945 г |
«Со́кол-Автома́т» или просто «Сокол» — малоформатный дальномерный фотоаппарат с программным автоматом экспозиции, выпускавшийся на Ленинградском оптико-механическом объединении с 1966 года[3]. В продажу также поступал под наименованием «ЛОМО-130А». На экспорт камера поставлялась под названием «Revue Auto RS» и «Aurora» («Aurora Automat»)[4]. Для своего времени фотоаппарат обладал передовой конструкцией, по некоторым параметрам превосходя даже японский прототип, за что был награждён Большой золотой медалью на Лейпцигской ярмарке[5].
Цена фотоаппарата в 1977 году составляла 145 рублей, почти в полтора раза дороже зеркального «Зенита-Е» со сменной оптикой. Для советских фотолюбителей «Сокол» оказался слишком дорог, а для профессиональной фотографии он был непригоден. В 1978 году выпуск фотоаппарата прекращён, всего известно о 226 600 сошедших с конвейера экземплярах, а также о 1000 камер под названием «ЛОМО-130А»[6][7]. В том же году начат выпуск новой модели «Сокол-2» с упрощённой зарядкой плёнки и «горячим башмаком»[8].
Особенности конструкции
Главным новшеством камеры стал фотоэлектрический экспонометр, основанный на CdS фоторезисторе вместо селенового фотоэлемента, применявшегося во всех советских экспонометрах тех лет. «Сокол» стал первым в СССР фотоаппаратом с таким типом светоприёмника[4][1]. Прототипом при разработке «Сокола» послужила японская камера Fujica 35 Auto-M с электронно-управляемым центральным затвором Copal Magic[9][10]. На тот момент автоматика этого фотоаппарата со «скользящей программой» считалась наиболее продвинутой[11]. После тщательного тестирования японских образцов, в 1965 году была куплена лицензия на конструкцию затвора, а затем налажен выпуск собственных устройств под названием «ФЗ-14»[5].

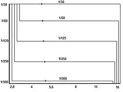
Благодаря возможностям нового затвора, «Сокол» оснащён пятипрограммным автоматом управления экспозицией[4]. Перед съёмкой одновременно с выбором одной из пяти выдержек затвора устанавливается одна из пяти программ автоматики[12]. При нормальных условиях автомат каждой из программ подбирает к установленной выдержке диафрагму в соответствии с экспозицией сцены, аналогично современному режиму приоритета выдержки. Однако в случае недостатка или избытка яркости снимаемого объекта автоматически выбирается более длинная или более короткая выдержка, чем установленная кольцом[13].
Сочетание выдержка — диафрагма, отрабатываемая затвором, отображается в поле зрения видоискателя механическим числовым индикатором, что практически не встречалось в аппаратуре такого класса[14]. Более того, такой индикации не было и в визире японского прототипа Fujica[15]. При невозможности выбора правильной экспозиции при измеренной яркости, спусковая кнопка блокируется, а в видоискателе на месте индикации экспопары появляется красный прямоугольник[16]. В этом случае автомат можно отключить и продолжить съёмку в ручном режиме при любом освещении[17]. Такая автоматика была революционной для тех лет и, в отличие от обычных «однопрограммных» автоматов (например, «Зоркий-10») позволяла контролировать оба экспозиционных параметра[18]. Кроме того, блокировка предотвращала частую ошибку при съёмке дальномерными фотоаппаратами с надетой крышкой объектива.
Фотоаппарат «Сокол» собран в массивном литом корпусе из алюминиевого сплава. На камерах разных выпусков на передней поверхности объектива количество стеклянных «глазков» для фоторезистора было разным: от одного до шести. Однако, только под одним из них находился светоприёмник, остальные были сделаны исключительно в декоративных целях[4]. Из-за особенностей конструкции при взводе затвора диафрагма полностью открывалась, а перед срабатыванием закрывалась до рабочего значения. Спуск затвора производился расположенной спереди прямоугольной клавишей, а для фотографического тросика на верхней крышке имелось отдельное резьбовое гнездо.
Телескопический видоискатель фотоаппарата совмещён с дальномером, номинальная база которого составляет 72 мм[3]. Подсвеченная рамка при фокусировке объектива смещается, компенсируя параллакс в горизонтальном направлении[2].
Технические характеристики
- Объектив «Индустар-70» 2,8/50, несъёмный. Светосильный четырёхлинзовый анастигмат с химическим просветлением, выпускавшийся вмонтированным в корпус затвора[19]. Резьба под светофильтр диаметром 58 мм.
- Курковый взвод затвора сблокирован с перемоткой плёнки и счётчиком кадров.
- При невзведённом затворе установка выдержки и диафрагмы запрещена (происходит блокировка). Несоблюдение этой инструкции приводит к поломке затвора. Имеется блокировка от неполного взвода затвора.
- На нижней крышке фотоаппарата расположены кнопка обратной перемотки и счётчик кадров. При открывании задней стенки счётчик кадров автоматически сбрасывается.
- Рукоятка обратной перемотки — рулетка, расположена на боковой стенке аппарата.
- Имеется обойма для подключения вспышки, кабельные синхроконтакты «Х» и «М».
- Источник питания автоматической экспонометрии — дисковый никель-кадмиевый аккумулятор Д-0,06 или ртутно-цинковый элемент РЦ-53 (современный аналог РХ-625), имеется контроль источника питания[16]. При отсутствии источника питания фотоаппарат полностью работоспособен в неавтоматическом режиме.
- Установка светочувствительности фотоплёнки в диапазоне 16—250 ед. ГОСТ (ASA)[16]. На передней поверхности объектива размещен сернисто-кадмиевый (CdS) фоторезистор, который закрывается светофильтром вместе с объективом, автоматически внося поправку на его кратность.
См. также
Примечания
- 1 2 Наука и жизнь, 1968, с. 101.
- 1 2 Любительская фотокиноаппаратура, 1976, с. 27.
- 1 2 Alfred Klomp. Sokol-2 (англ.). Alfred's Camera Page. Дата обращения: 26 октября 2020. Архивировано 11 декабря 2010 года.
- 1 2 3 4 И. Арисов. Фотоаппарат Сокол-автомат обзор и инструкция. Фототехника СССР (6 марта 2020). Дата обращения: 15 сентября 2020. Архивировано 18 сентября 2020 года.
- 1 2 Наука и жизнь, 1968, с. 104.
- ↑ Краткая история советского фотоаппарата, 1993, с. 62.
- ↑ Jean Loup Princelle, 2004, p. 65.
- ↑ Г. Абрамов. «Сокол-2». Этапы развития отечественного фотоаппаратостроения. Дата обращения: 26 октября 2020. Архивировано 25 ноября 2020 года.
- ↑ Как на советском фотоаппарате «Сокол» появился японский затвор. «Fotorefit». Дата обращения: 15 сентября 2020. Архивировано 19 июня 2020 года.
- ↑ И. Арисов. Фотоаппарат Сокол-2 обзор и инструкция. Фототехника СССР (9 октября 2018). Дата обращения: 15 сентября 2020. Архивировано 16 сентября 2020 года.
- ↑ Советское фото, 1964, с. 36.
- ↑ Фотоаппараты, 1984, с. 85.
- ↑ Советское фото, 1966, с. 42.
- ↑ Фотокинотехника, 1981, с. 303.
- ↑ Георгий Николаенко. Семейство фотоаппаратов «Сокол». Eastrise Photography. Дата обращения: 17 октября 2020. Архивировано 17 октября 2020 года.
- 1 2 3 Фотокинотехника, 1981, с. 304.
- ↑ Г. Абрамов. «Сокол». этапы развития отечественного фотоаппаратостроения. Дата обращения: 26 октября 2020. Архивировано 1 октября 2020 года.
- ↑ Наука и жизнь, 1968, с. 100.
- ↑ Объективы. Каталог, 1971, с. 37.
Литература
- А. Авдонин, В. Прийменко. Многопрограммный фотоаппарат «Сокол» // «Наука и жизнь» : журнал. — 1968. — № 12. — С. 100—104. — ISSN 0028-1263.
- В. Воробьёв. Экспозицию определяет автомат // «Советское фото» : журнал. — 1964. — № 1. — С. 32—36. — ISSN 0371-4284.
- Е. А. Иофис. Фотокинотехника / И. Ю. Шебалин. — М.: Советская энциклопедия, 1981. — С. 303—304. — 447 с. — 100 000 экз.
- А. С. Кошелев. Любительская фотокиноаппаратура / И. Б. Кравцова. — М.: «Искусство», 1976. — С. 168—169. — 192 с. — 50 000 экз.
- В. Прийменко, А. Авдонин. Новый фотоаппарат «Сокол» // «Советское фото» : журнал. — 1966. — № 7. — С. 42. — ISSN 0371-4284.
- Ю. Рышков. Краткая история советского фотоаппарата (1929—1991) / Б. Быков. — Р.: ПТК «Искусство», 1993. — С. 62. — 72 с. — 5000 экз. — ISBN 5-88330-002-2.
- М. Я. Шульман. Фотоаппараты / Т. Г. Филатова. — Л.: «Машиностроение», 1984. — 142 с. — 100 000 экз.
- Объективы. Каталог. Часть 2 / А. Ф. Яковлев. — Л.: ГОИ, 1971. — 414 с. — 250 экз.
- Jean Loup Princelle. GOI-GOZ-VOOMP-GOMZ-LOMO // Made in USSR. The authentic guide to Russian an Soviet cameras (англ.) / пер. на англ. Charles Barringer. — 2nd Edition. — Onderville sur Essonne: Le Reve Edition, 2004. — P. 31-79. — 293 p. — ISBN 2-9522521-1-4.
Ссылки
- «ЛОМО от слова поЛОМка» или ремонт видоискателя на фотоаппарате «Сокол». Eastrise Photography. Дата обращения: 17 октября 2020.
