Z-образная передача
.gif)
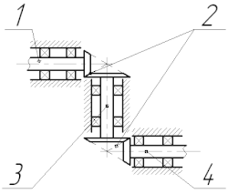
Z-образная передача (угловая колонка) — механическая передача мощности вращением, состоящая из трех валов: входного, выходного и промежуточного, соединенных между собой коническими зубчатыми передачами. Расположение валов напоминает букву Z. Z-образные передачи применяют в том случае, когда необходимо передавать крутящий момент между валами, большое расстояние между которыми делает невозможным применение цилиндрических зубчатых передач а также там, где оси входного и выходного вала должны иметь возможность поворота друг относительно друга. Различают простые (одинарные) и двойные Z-образные передачи. У двойной передачи два концентрически установленных промежуточных вала, вращающихся в противоположных направлениях. Применение двойной передачи позволяет скомпенсировать реактивный момент, стремящийся развернуть корпуса конических передач друг относительно друга. Угол между валами простой Z-образной передачи может быть выбран любым из допустимого диапазона для конических зацеплений, а для двойной — только прямой.
.gif)
Z-образные передачи нашли применение в ветроэнергетических установках, на судах для привода гребного винта, на вертолетах для привода хвостового винта, для привода распределительных валов мощных или высокоскоростных двигателей внутреннего сгорания, на колёсных тракторах для привода управляемых ведущих колёс (например, в переднем мосту трактора МТЗ-82).
См. также
Литература
- Судовые энергетические установки. Главные судовые передачи: учеб. пособие / С.Н. Зеленов, П.В. Семашко; Нижегород. гос. техн. ун-т им. Р.Е. Алексеева. – Нижний Новгород, 2018. -101 с. Глава 3.2.3. Поворотные винторулевые колонки
- Катерные силовые установки с Z-образной передачей // Катера и Яхты : журнал. — 1964. — № 2.