Предохранительный клапан

Предохранительный клапан — трубопроводная арматура, предназначенная для защиты от механического разрушения оборудования и трубопроводов избыточным давлением путём автоматического выпуска избытка жидкой, паро- и газообразной среды из систем и сосудов с давлением сверх установленного. Клапан также должен обеспечивать прекращение сброса среды при восстановлении рабочего давления. Предохранительный клапан является арматурой прямого действия, работающей непосредственно от рабочей среды, наряду с большинством конструкций защитной арматуры и регуляторами давления прямого действия.
Опасное избыточное давление может возникнуть в системе как в результате сторонних факторов (неправильная работа оборудования, передача тепла от сторонних источников, неправильно собранная тепломеханическая схема и т. д.), так и в результате внутренних физических процессов, обусловленных неким исходным событием, не предусмотренным нормальной эксплуатацией. Предохранительные клапаны устанавливаются везде, где может это произойти, то есть практически на любом оборудовании, но в особенности они важны в сфере эксплуатации промышленных и бытовых сосудов, работающих под давлением.
Существуют и другие виды предохранительной арматуры, но клапаны используются наиболее широко вследствие простоты своей конструкции, лёгкости настройки, разнообразия видов, размеров и конструктивных исполнений[1][2][3].
Принцип действия

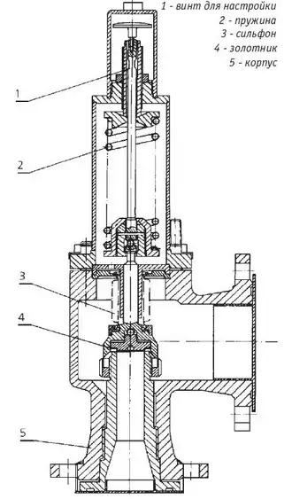
На поясняющем рисунке справа — чертёж типичного пружинного клапана прямого действия. На его примере рассмотрим типичную конструкцию. Обязательными компонентами конструкции предохранительного клапана прямого действия являются запорный орган и задатчик, обеспечивающий силовое воздействие на чувствительный элемент, связанный с запорным органом клапана. Запорный орган состоит из затвора и седла. Если рассматривать поясняющий рисунок, то в этом простейшем случае затвором является золотник, а задатчиком выступает пружина. С помощью задатчика клапан настраивается таким образом, чтобы усилие на золотнике обеспечивало его прижатие к седлу запорного органа и препятствовало пропуску рабочей среды, в данном случае настройку производят специальным винтом.
Когда предохранительный клапан закрыт, на его чувствительный элемент воздействует сила от рабочего давления в защищаемой системе, стремящаяся открыть клапан и сила от задатчика, препятствующая открытию. С возникновением в системе возмущений, вызывающих повышение давления свыше рабочего, уменьшается величина силы прижатия золотника к седлу. В тот момент, когда эта сила станет равной нулю, наступает равновесие активных сил от воздействия давления в системе и задатчика на чувствительный элемент клапана. Запорный орган начинает открываться, если давление в системе не перестанет возрастать, происходит сброс рабочей среды через клапан.
С понижением давления в защищаемой системе, вызываемом сбросом среды, исчезают возмущающие воздействия. Запорный орган клапана под действием усилия от задатчика закрывается.
Давление закрытия в ряде случаев оказывается на 10-15 % ниже рабочего давления, это связано с тем, что для создания герметичности запорного органа после срабатывания требуется усилие, значительно большее, чем, то, которого было достаточно для поддержания герметичности клапана перед открытием. Это объясняется необходимостью преодолеть при посадке силу сцепления молекул среды, проходящей через щель между уплотнительными поверхностями золотника и седла, вытеснить эту среду. Также понижению давления способствует запаздывание закрытия запорного органа, связанное с воздействием на него динамических усилий от проходящего потока среды, и наличие сил трения, требующих дополнительного усилия для его полного закрытия[2].
Классификация предохранительных клапанов
По принципу действия:
- клапаны прямого действия — обычно именно эти устройства имеют в виду, когда используют словосочетание предохранительный клапан, они открываются непосредственно под действием давления рабочей среды;
- клапаны непрямого действия — клапаны с управлением путём использования постороннего источника давления или электроэнергии, общепринятое название таких устройств импульсные предохранительные устройства;
По характеру подъёма замыкающего органа:
- клапаны пропорционального действия (используются на несжимаемых средах)
- клапаны двухпозиционного действия
По высоте подъёма замыкающего органа:
- малоподъёмные — клапаны, у которых ход запирающего элемента не превышает 1/20 от наименьшего диаметра седла
- среднеподъёмные — клапаны, у которых ход запирающего элемента составляет от 1/20 до 1/4 от наименьшего диаметра седла
- полноподъёмные — клапаны, у которых ход запирающего элемента составляет 1/4 и более от наименьшего диаметра седла
По виду нагрузки на золотник:
- грузовые или рычажно-грузовые
- пружинные
- рычажно-пружинные
- магнито-пружинные
Различия в конструкциях
_(Heat_Engines%252C_1913).jpg)
Предохранительные клапаны как правило имеют угловой корпус, но могут иметь и проходной, независимо от этого клапаны устанавливаются вертикально так, чтобы при закрывании шток опускался вниз.
Большинство предохранительных клапанов изготавливаются с одним седлом в корпусе, но встречаются конструкции и с двумя сёдлами, установленными параллельно[4].
Малоподъемными называются предохранительные клапаны, у которых высота подъема запирающего элемента (золотника, тарелки) не превышает 1/20 диаметра седла, полноподъемными — клапаны, у которых высота подъема составляет 1/4 диаметра седла и более[3]. Существуют также клапаны с высотой подъема тарелки от 1/20 до 1/4, их обычно называют среднеподъемными. В малоподъемных и среднеподъемных клапанах подъем золотника над седлом зависит от давления среды, поэтому условно их называют клапанами пропорционального действия, хотя подъем не пропорционален давлению рабочей среды. Такие клапаны используются, как правило, для жидкостей, когда не требуется большая пропускная способность. В полноподъемных клапанах открытие происходит сразу на полный ход тарелки, поэтому их называют клапанами двухпозиционного действия. Такие клапаны высокопроизводительны и применяются как на жидких, так и на газообразных средах[4][5].
Наибольшие различия в конструкциях предохранительных клапанов заключаются в видах нагрузки на золотник.
Пружинные клапаны

В них давлению среды на золотник противодействует сила сжатия пружины. Один и тот же пружинный клапан может быть использован для различных пределов настройки давления срабатывания путём комплектации различными пружинами. Многие клапаны изготавливаются со специальным механизмом (рычагом, грибком и др.) ручного подрыва для контрольной продувки клапана. Это делается с целью проверки работоспособности клапана, так как во время эксплуатации могут возникнуть различные проблемы, например прикипание, примерзание, прилипание золотника к седлу. Однако в некоторых производствах в условиях агрессивных и токсичных сред, высоких температур и давлений, контрольная продувка может быть очень опасной, поэтому для таких клапанов возможность ручной продувки не предусматривается и даже запрещается[6].
Чаще всего пружины подвергаются воздействию рабочей среды, которая сбрасывается из трубопровода или ёмкости при срабатывании, для защиты от слабоагрессивных сред применяют специальные покрытия пружин. Уплотнение по штоку в таких клапанах отсутствует. В случаях же работы с агрессивными средами в химических и некоторых других установках пружину изолируют от рабочей среды при помощи уплотнения по штоку сальниковым устройством, сильфоном или эластичной мембраной. Сильфонное уплотнение применяется также в тех случаях, когда утечка среды в атмосферу не допускается, например на АЭС[5][7].
Рычажно-грузовые клапаны
.jpg)
Исторически самая ранняя и самая простая конструкция клапана, появившаяся вместе с изобретением паровых машин. В таких клапанах усилию на золотник от давления рабочей среды противодействует сила от груза, передаваемая через рычаг на шток клапана. Настройка таких клапанов на давление открытия производится фиксацией груза определённой массы на плече рычага. Рычаги также используют для ручной продувки клапана. Такие устройства запрещено использовать на передвижных сосудах[8].
Для герметизации сёдел больших диаметров требуются значительные массы грузов на длинных рычагах, что может вызвать сильную вибрацию устройства, в этих случаях применяются корпуса, внутри которых сечение сброса среды образовано двумя параллельно расположенными сёдлами, которые перекрываются двумя золотниками при помощи двух рычагов с грузами. Таким образом, в одном корпусе монтируются два параллельно работающих затвора, что позволяет уменьшить массы груза и длины рычагов, обеспечивая нормальную работу клапана[5].
Магнито-пружинные клапаны
В этих устройствах используется электромагнитный привод, то есть они не являются арматурой прямого действия. Электромагниты в них могут обеспечивать дополнительное прижатие золотника к седлу, в этом случае при достижении давления срабатывания по сигналу от датчиков электромагнит отключается и давлению противодействует лишь пружина, клапан начинает работать как обычный пружинный. Также электромагнит может создавать усилие открытия, то есть противодействовать пружине и принудительно открывать клапан. Существуют клапаны, в которых электромагнитный привод осуществляет и дополнительное прижатие, и усилие открытия, в этом случае пружина служит для подстраховки на случай прекращения электропитания, при обесточении такие устройства начинают работать как пружинные клапаны прямого действия.
Магнито-пружинные клапаны применяются чаще всего в сложных импульсных предохранительных устройствах в качестве управляющих или импульсных клапанов[6][7].
Технические требования к предохранительным клапанам
Главным и наиболее ответственным требованием, предъявляемым к предохранительным клапанам, является высокая надёжность, включающая в себя:
- безотказное и своевременное открытие клапана при заданном превышении рабочего давления в системе;
- обеспечение клапаном в открытом положении требуемой пропускной способности;
- осуществление своевременной обратной посадки (закрытия) с требуемой степенью герметичности при заданной величине падения давления в системе после аварийного срабатывания и сохранения установленной степени герметичности при последующем возрастании давления до величины рабочего;
- обеспечение стабильности работы, то есть сохранение в течение всего срока эксплуатации и заданного числа циклов срабатывания параметров настройки и требуемой степени герметичности запорного органа при рабочем давлении.
Предохранительные клапаны подлежат периодической проверке в специализированной организации или испытанию в действии. Все клапаны должны быть испытаны на прочность, плотность, а также герметичность сальниковых соединений и уплотнительных поверхностей[2][8]
Правила и стандарты
В связи с широчайшим распространением предохранительных клапанов стандарты и правила, применяемые к ним, находятся во всех документах, которые регулируют использование всего оборудования, защищаемого ими. Например: Федеральные нормы и правила в области промышленной безопасности «Правила промышленной безопасности опасных производственных объектов, на которых используется оборудование, работающее под избыточным давлением» в России или «Boiler & Pressure Vessel Code» в США. Также существуют отраслевые документы, посвящённые исключительно предохранительным клапанам в применении к какому-либо оборудованию, например «Клапаны предохранительные паровых и водогрейных котлов. Технические требования (ГОСТ 24570-81)»
В связи с особой ответственностью предохранительных клапанов в обеспечении безопасности систем, которые ими обслуживаются, надзор за их использованием и утверждение правил и стандартов производят организации, специально уполномоченные государством, например в России это Ростехнадзор[5][8].
Примечания
- ↑ Д. Ф. Гуревич. Трубопроводная арматура.Справочное пособие. — Москва: ЛКИ, 2008. — С. 368. — ISBN 978 5 382 00409 9.
- 1 2 3 Под общей редакцией С. И. Косых. Трубопроводная арматура с автоматическим управлением.Справочник. — Ленинград: Машиностроение, 1982.
- 1 2 Арматура трубопроводная.Термины и определения. ГОСТ Р 52720-2007. Федеральное агентство по техническому регулированию и метрологии. Дата обращения: 10 июня 2010. Архивировано 2 марта 2012 года.
- 1 2 А. И. Гошко. Арматура промышленная общего и специального назначения. Справочник. — Москва: Мелго, 2007.
- 1 2 3 4 Р. Ф. Усватов—Усыскин. Поговорим об арматуре. — Москва: Vitex, 2005.
- 1 2 Правила устройства и безопасной эксплуатации оборудования и трубопроводов атомных энергетических установок (ПНАЭ Г-7-008-89)
- 1 2 Технологические системы реакторного отделения. БАЭС: ЦПП, 2000.
- 1 2 3 Правила устройства и безопасной эксплуатации сосудов, работающих под давлением (ПБ 03-576-03)