Остров стабильности

О́стров стаби́льности в ядерной физике — гипотетическая трансурановая область на карте изотопов, для которой (в соответствии с теорией оболочечного строения ядра М. Гёпперт-Мейер и Х. Йенсена, удостоенных в 1963 году Нобелевской премии по физике) вследствие предельного заполнения в ядре протонных и нейтронных оболочек, время жизни изотопов значительно превышает время жизни «соседних» трансурановых изотопов, делая возможным долгоживущее и стабильное существование таких элементов, в том числе в природе.
На острове, а точнее островах стабильности, есть пики и спуски относительной стабильности разных элементов. Наиболее яркими кандидатами на принадлежность первому Острову стабильности долгое время рассматривались изотопы элементов, имеющих порядковые номера 114 и 126 и соответственно так называемые магическое и дважды магическое числовые значения ядер по оболочечной теории[3][4].
Первые изотопы элемента 114, синтезированные в Объединённом институте ядерных исследований (ОИЯИ), действительно имеют нетипично большой период полураспада[5], что подтверждает оболочечную теорию. В мае 2006 года российские учёные под руководством Юрия Оганесяна из ОИЯИ объявили, что им удалось подтвердить существование первого долгоживущего изотопа элемента 114 и получить экспериментальное подтверждение существования Острова стабильности — в ходе этого эксперимента в дополнение к ранее проведённым физическим экспериментам была проведена химическая идентификация цепочек распада[6]. Элемент флеровий (114), как и элемент ливерморий (116), был признан IUPAC в декабре 2011 года и получил зарегистрированное официальное название в мае 2012 года.
Было сделано несколько предсказаний относительно точного местоположения острова стабильности, хотя обычно считается, что он сосредоточен вблизи изотопов коперниция и флеровия вблизи предсказанной замкнутой нейтронной оболочки при N = 184[2]. Эти модели убедительно предполагают, что заполненная оболочка обеспечит дополнительную устойчивость к делению и альфа-распаду. Хотя ожидается, что эти эффекты будут наибольшими вблизи атомного номера Z = 114 и N = 184, ожидается, что область повышенной стабильности будет охватывать несколько соседних элементов, а также могут существовать дополнительные острова стабильности вокруг более тяжёлых ядер, которые являются дважды магическими (имеющими магические числа как протонов, так и нейтронов). Оценки стабильности нуклидов на острове обычно составляют период полураспада, составляющий минуты или дни; по некоторым оценкам, период полураспада составит миллионы лет[7].
Хотя модель ядерной оболочки, предсказывающая магические числа, существует с 1940-х годов, существование долгоживущих сверхтяжёлых нуклидов окончательно не продемонстрировано. Как и остальные сверхтяжёлые элементы, нуклиды острова стабильности никогда не были обнаружены в природе; таким образом, они должны быть созданы искусственно в ходе изучаемой ядерной реакции. Учёные не нашли способа осуществить такую реакцию, поскольку вполне вероятно, что для заселения ядер вблизи центра острова потребуются новые типы реакций. Тем не менее успешный синтез сверхтяжёлых элементов до Z = 118 (оганессон) с числом нейтронов до 177 демонстрирует небольшой стабилизирующий эффект вокруг элементов со 110 по 114, который может продолжаться и в неизвестных изотопах, что согласуется с существованием острова стабильности[2][8].
Введение
Стабильность нуклидов

Состав нуклида (атомного ядра) определяется количеством протонов Z и количеством нейтронов N, которые в сумме дают массовое число A. Число протонов Z или атомный номер определяет положение элемента в периодической системе химических элементов Менделеева. Примерно 3300 известных нуклидов[9] обычно представляются на диаграмме с координатами Z и N по осям и периодом полураспада, указанным для каждого нестабильного нуклида (см. Рисунок)[10] на 2019 год, 251 нуклид считается стабильным (распад никогда не наблюдался)[11]; обычно с увеличением числа протонов стабильные ядра имеют более высокое отношение количества нейтронов к протонам (больше нейтронов на один протон). Последний элемент таблицы Менделеева, имеющий стабильный изотоп, — свинец (Z = 82)[a][b], со стабильностью (то есть периоды полураспада самых долгоживущих изотопов), как правило, уменьшающимися в более тяжёлых элементах[c][14], особенно за пределами кюрия (Z = 96)[15]. Период полураспада ядер также уменьшается, когда существует однобокое соотношение количество нейтронов к протонам, так что образующиеся ядра имеют слишком мало или слишком много нейтронов, чтобы быть стабильными[16].
Стабильность ядра определяется его энергией связи: чем выше энергия связи, тем более стабилен нуклид. Энергия связи на нуклон увеличивается с увеличением атомного номера до широкого плато наблюдаемого вокруг атомного номера A = 60, а затем снижается[10]. Если ядро можно разделить на две части, имеющие меньшую общую энергию (следствие дефекта массы, возникающего из-за большей энергии связи), оно нестабильно. Ядро может сохраняться вместе в течение конечного времени, поскольку существует потенциальный барьер, препятствующий распаду, но этот барьер можно преодолеть с помощью квантового туннелирования. Чем меньше барьер и массы осколков, тем больше вероятность распада в единицу времени[17].
Протоны в ядре связаны сильным взаимодействием, которое уравновешивает кулоновское отталкивание между положительно заряженными протонами. В более тяжёлых ядрах необходимо большее количество незаряженных нейтронов, чтобы уменьшить отталкивание и придать им дополнительную стабильность. Несмотря на это, когда физики начали синтезировать элементы, которых нет в природе, они обнаружили, что стабильность снижается по мере того, как ядра становятся тяжелее[18]. Таким образом, они предположили, что периодическая система элементов имеет ограничение на атомный номер. Первооткрыватели плутония (94-го элемента) подумывали назвать его «ультимием» (англ. ultimium), считая его последним[19]. После открытия более тяжёлых элементов, некоторые из которых распались за микросекунды, стало казаться, что нестабильность в отношении спонтанного деления ограничит существование более тяжёлых элементов. В 1939 году верхний предел потенциального синтеза элементов был оценён вокруг элемента 104[20], а после первых открытий трансактинидных элементов в начале 1960-х годов этот верхний предел предсказания был распространён на элемент 108[18].
Магические числа

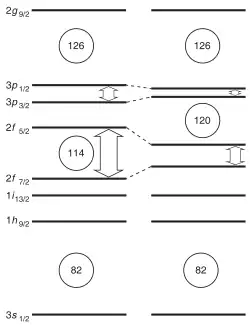
Ещё в 1914 году было высказано предположение о возможном существовании сверхтяжёлых элементов с атомными номерами, значительно превосходящими атомные номера урана — тогда самого тяжёлого из известных элементов, — когда немецкий физик Рихард Свайнн предположил, что сверхтяжёлые элементы вокруг Z = 108 были источником излучения космических лучей. Хотя он не сделал никаких окончательных наблюдений, в 1931 году он выдвинул гипотезу, что трансурановые элементы вокруг Z = 100 или Z = 108 могут быть относительно долгоживущим и, возможно, существовать в природе[23]. В 1955 году американский физик Дж. Уилер также предположил существование таких элементов[19]; ему приписывают первое использование термина «сверхтяжёлый элемент» в статье 1958 года, опубликованной совместно с Фредериком Вернером[24]. Эта идея вызвала широкий интерес лишь десять лет спустя, после усовершенствования модели оболочечного строения ядра. В этой модели атомное ядро построено в виде «оболочек», аналогичных электронным оболочкам в атомах. Независимо друг от друга нейтроны и протоны имеют энергетические уровни, которые обычно расположены близко друг к другу, но после заполнения одной оболочки требуется значительно больше энергии, чтобы начать заполнять следующую. Таким образом, энергия связи на нуклон достигает локального максимума и ядра с заполненными оболочками более стабильны, чем без них[25]. Эта теория возникла в 1930-х годах, но только в 1949 году немецкие физики М. Гёпперт-Майер и Х. Йенсен и другие самостоятельно разработали корректную формулировку[26].
Число нуклонов, которыми полностью заполняются оболочки, называют магическими числами. Для нейтронов наблюдались магические числа 2, 8, 20, 28, 50, 82 и 126, а следующее число, по прогнозам, будет 184[8][27]. Протоны разделяют первые шесть из этих магических чисел[28], а число 126 было предсказано как магическое число протона с 1940-х годов[23]. Нуклиды с магическим числом каждого, например 16O (Z = 8, N = 8), 132Sn (Z = 50, N = 82) и 208Pb (Z = 82, N = 126) — называются «дважды магическими» и более стабильны, чем близлежащие нуклиды, из-за большей энергии связи[29][30].
В конце 1960-х годов более сложные оболочечные модели были сформулированы американским физиком У. Майерсом (William Myers) и польским физиком Владиславом Свёнтецким (Władysław Świątecki) и независимо немецким физиком Хайнером Мельднером Heiner Meldner[31][32]. С помощью этих моделей, принимая во внимание кулоновское отталкивание, Х. Мелднер предсказал, что следующее магическое число протонов может оказаться равным 114 вместо 126[33]. У. Майерс и В. Свентецкий, по-видимому, придумали термин «остров стабильности», а американский химик Г. Сиборг, позже открывший многие сверхтяжёлые элементы, быстро принял этот термин и пропагандировал его[23][34]. У. Майерс и В. Свентецкий также предположили, что некоторые сверхтяжёлые ядра будут более долгоживущими из-за более высоких барьеров деления. Дальнейшие усовершенствования модели ядерной оболочки советским физиком В. Струтинским привели к появлению макроскопически-микроскопического метода — модели ядерной массы, которая учитывает как плавные тенденции, характерные для модели жидкой капли, так и локальные флуктуации, вызванные оболочечными эффектами. Этот подход позволил шведскому физику С. Нильссону Sven Nilsson и др., а также другим группам провести первые подробные расчёты стабильности ядер на их острове[33]. С появлением этой модели В. Струтинский, С. Нильссон и другие группы предсказали существование дважды магического нуклида 298Fl (Z = 114, N = 184), а не 310Ubh (Z = 126, N = 184), которому ещё в 1957 году преписывалось свойство быть дважды магическим[33]. Впоследствии оценки магического числа протона колебались от 114 до 126, но единого мнения до сих пор нет[8][22][35][36].
Открытия
| Элемент | Атомное число |
Наиболее стабильный изотоп |
Период полураспада [d] | |
|---|---|---|---|---|
| Публикации[37][38] | NUBASE 2020[39] | |||
| Резерфордий | 104 | 267Rf | 48 мин[40] | 2,5 ч |
| Дубний | 105 | 268Db | 16 ч[41] | 1,2 сут |
| Сиборгий | 106 | 269Sg | 14 мин[42] | 5 мин |
| Борий | 107 | 270Bh[e] | 2,4 мин[44] | 3,8 мин |
| Хассий | 108 | 269Hs | 9,7 с[45] | 16 с |
| Мейтнерий | 109 | 278Mt[f][g] | 4,5 с | 6 с |
| Дармштадтий | 110 | 281Ds[f] | 12,7 с | 14 с |
| Рентгений | 111 | 282Rg[f][h] | 1,7 мин | 2,2 мин |
| Коперниций | 112 | 285Cn[f] | 28 с | 30 с |
| Нихоний | 113 | 286Nh[f] | 9,5 с | 12 с |
| Флеровий | 114 | 289Fl[f][i] | 1,9 с | 2,1 с |
| Московий | 115 | 290Mc[f] | 650 мс | 840 мс |
| Ливерморий | 116 | 293Lv[f] | 57 мс | 70 мс |
| Теннессин | 117 | 294Ts[f] | 51 мс | 70 мс |
| Оганессон | 118 | 294Og[f] | 690 мкс | 700 мкс |
Интерес к возможному острову стабильности рос на протяжении 1960-х годов, поскольку некоторые расчёты предполагали, что он может содержать нуклиды с периодом полураспада в миллиарды лет[47][48]. Было также предсказано, что они будут особенно устойчивы к спонтанному делению, несмотря на их высокую атомную массу[33][49]. Считалось, что если такие элементы существуют и достаточно долговечны, может быть несколько новых применений вследствие их ядерных и химических свойств. К ним относятся использование в ускорителях частиц в качестве источников нейтронов, в ядерном оружии из-за их предсказанной низкой критической массы и испускаемых при делении большого количества нейтронов[50], а также в качестве ядерного топлива для космических миссий[35]. Эти предположения побудили многих исследователей провести поиск сверхтяжёлых элементов в 1960-х и 1970-х годах как в природе, так и посредством нуклеосинтеза в ускорителях частиц[19].
В 1970-е годы было проведено множество поисков долгоживущих сверхтяжёлых ядер. Эксперименты, направленные на синтез элементов с атомным номером от 110 до 127, проводились в лабораториях по всему миру[37][47]. Эти элементы искали в реакциях синтеза-испарения, в которых тяжёлая мишень, состоящая из одного нуклида, облучается ускоренными ионами другого нуклида в циклотроне, и после слияния этих ядер образуются новые нуклиды, и образующаяся возбуждённая система высвобождает энергию за счёт испарения нескольких частиц (обычно протоны, нейтроны или альфа-частицы). Эти реакции делятся на «холодный» и «горячий» синтез, которые соответственно создают системы с более низкой и более высокой энергией возбуждения, что влияет на выход реакции[51]. Например, ожидалось, что реакция между 248Cm и 40Ar приведёт к образованию изотопов элемента 114, а реакция между 232Th и 84Kr — к изотопам элемента 126[19]. Ни одна из этих попыток не увенчалась успехом[37][47], что указывает на то, что такие эксперименты могли быть недостаточно чувствительными, если сечения реакции были низкими, что приводило к более низким выходам, или что любые ядра, достижимые посредством таких реакций синтеза-испарения, могли быть слишком короткоживущими для обнаружения. Последующие успешные эксперименты показали, что периоды полураспада и поперечные сечения действительно уменьшаются с увеличением атомного номера, что приводит к синтезу лишь нескольких короткоживущих атомов самых тяжёлых элементов в каждом эксперименте[52]. На 2022 год самое высокое зарегистрированное эффективное сечение сверхтяжёлого нуклида вблизи острова стабильности приходится на 288Mc в реакции между 243Am и 48Ca[41].
Подобные поиски в природе также не увенчались успехом, что позволило предположить, что если сверхтяжёлые элементы и существуют в природе, то их содержание составляет менее 10−14 молей сверхтяжёлых элементов на моль руды[19]. Несмотря на эти безуспешные попытки наблюдать долгоживущие сверхтяжёлые ядра[33], каждые несколько лет в лабораториях синтезировались новые сверхтяжёлые элементы посредством бомбардировки лёгкими ионами и реакций холодного синтеза[j]; резерфордий, первый трансактинид, был открыт в 1969 году, а коперниций, на восемь протонов ближе к острову стабильности, предсказанному при Z = 114, было достигнуто к 1996 году. Хотя период полураспада этих ядер очень короток (порядка секунд)[53], само существование элементов тяжелее резерфордия указывает на стабилизирующие эффекты, которые, как полагают, вызываются заполненными оболочками; модель, не учитывающая такие эффекты, запретила бы существование этих элементов из-за быстрого спонтанного деления[20].
Флеровий с ожидаемыми магическими 114 протонами был впервые синтезирован в 1998 году в Объединённом институте ядерных исследований в Дубне, Россия, группой исследователей под руководством Ю. Оганесяна. Был обнаружен единственный атом элемента 114 со временем жизни 30,4 секунды, и периодом полураспада продуктов его распада измеряется минутами[54]. Поскольку образующиеся ядра подвергались альфа-распаду, а не делению, а периоды полураспада были на несколько порядков больше, чем те, которые были предсказаны ранее[k] или наблюдались для сверхтяжёлых элементов[54], это событие рассматривалось как «хрестоматийный пример» цепочки распада, характерной для острова стабильности, что является убедительным доказательством существования острова стабильности в этом регионе[19]. Хотя эта реакция 1998 года больше не наблюдалась и нет полной уверенности в её существовании[43], дальнейшие успешные эксперименты в следующие два десятилетия привели к открытию всех элементов вплоть до оганессона, периоды полураспада которых, как было обнаружено, превышали первоначально предсказанные значения. Эти свойства распада ещё раз подтверждают наличие острова стабильности[8][46][56]. Однако исследование цепочек распада изотопов флеровия, проведённое в 2021 году, показывает, что сильного стабилизирующего эффекта от Z = 114 нет в области известных ядер (N = 174)[57], и что дополнительная стабильность будет преимущественно следствием заполнения нейтронной оболочки[36]. Хотя известным ядрам всё ещё не хватает нескольких нейтронов до N = 184, где ожидается максимальная стабильность (самые нейтронно-богатые подтверждённые ядра, 293Lv и 294Ts, достигают только N = 177), а точное расположение центра острова остаётся неизвестным[7][8], наблюдается тенденция увеличения устойчивости ближе к N = 184. Например, изотоп 285Cn, содержащий на восемь нейтронов больше, чем 277Cn, имеет период полураспада почти на пять порядков больше. Ожидается, что эта тенденция продолжится и в отношении неизвестных более тяжёлых изотопов вблизи заполнения оболочки[58].
Деформированные ядра

Хотя ядра внутри острова стабильности вокруг элемента с N = 184 согласно прогнозам, имеют сферическую форму, исследования начала 1990-х годов, начиная с польских физиков З. Патыка Zygmunt Patyk и А. Собичевского Adam Sobiczewski в 1991 году[59], предполагают, что некоторые сверхтяжёлые элементы не имеют идеально сферических ядер[60][61]. Изменение формы ядра влияют на распределение положений нейтронов и протонов в оболочке. Исследования показывают, что большие ядра, находящиеся дальше от сферических магических чисел, деформируются[61], вызывая сдвиг магических чисел или появление новых магических чисел. Современные теоретические исследования показывают, что в области Z = 106—108 и N ≈ 160—164, ядра могут быть более устойчивыми к делению вследствие оболочечных эффектов для деформированных ядер; таким образом, такие сверхтяжёлые ядра будут подвергаться только альфа-распаду[62][63][64]. Сейчас считается, что хассий-270 представляет собой дважды магическое деформированное ядро с деформированными магическими числами Z = 108 и N = 162[65]. Его период полураспада составляет 9 секунд[53]. Это согласуется с моделями, учитывающими деформированную природу ядер, промежуточных между актинидами и островом стабильности вблизи N = 184, в котором возникает «полуостров» устойчивости при деформированных магических числах Z = 108 и N = 162[66][67]. Определение свойств распада соседних изотопов хассия и сиборгия вблизи N = 162 даёт ещё одно убедительное доказательство существования этой области относительной стабильности в деформированных ядрах[49]. Это также убедительно свидетельствует о том, что остров стабильности (для сферических ядер) не полностью изолирован от области стабильных ядер, а скорее, что обе области вместо этого связаны перешейком из относительно стабильных деформированных ядер[66][68].
Прогнозируемые свойства распада

Периоды полураспада ядер на самом острове стабильности неизвестны, поскольку ни один из нуклидов, которые могли бы находиться «на острове», не наблюдался. Многие физики считают, что период полураспада этих ядер относительно невелик, порядка минут или дней[7]. Некоторые теоретические расчёты показывают, что период их полураспада может быть длительным, порядка 100 лет[2][52] или, возможно, до 109 лет[48].
Заполнение оболочки при N = 184 приведёт к увеличению частичного периода полураспада альфа-распада и спонтанного деления[2]. Считается, что закрытие оболочки приведёт к более высоким барьерам деления для ядер около 298Fl, что сильно затруднит деление и, возможно, приведёт к тому, что период полураспада деления окажется на 30 порядков больше, чем у ядер, на которые не происходит заполнение оболочки[33][69]. Например, нейтронодефицитный изотоп 284Fl (N = 170) подвергается делению с периодом полураспада 2,5 миллисекунды и считается одним из наиболее нейтронодефицитных нуклидов с повышенной стабильностью вблизи N = 184 заполненной оболочки[42]. По прогнозам, за пределами этой точки некоторые неоткрытые изотопы будут подвергаться делению с ещё более короткими периодами полураспада, что ограничивает существование[l] и возможное наблюдение[m] сверхтяжёлых ядер вдали от острова стабильности (а именно для N < 170 так же как и для Z > 120 и N > 184)[16][20]. Эти ядра могут подвергаться альфа-распаду или спонтанному делению за микросекунды или меньше, при этом некоторые периоды полураспада деления оцениваются порядка 10−20 секунд в отсутствие барьеров деления[62][63][64][69]. Напротив, 298Fl (по прогнозам, находится в области максимальных оболочечных эффектов) может иметь гораздо более длительный период полураспада спонтанного деления, возможно, порядка 1019 лет[33].
В центре острова может иметь место конкуренция между альфа-распадом и спонтанным делением, хотя точное соотношение зависит от модели[2]. Периоды полураспада альфа-распада 1700 ядер со 100 ≤ Z ≤ 130 были рассчитаны в модели квантового туннелирования как с экспериментальными, так и с теоретическими значениями Q-значений альфа-распада и согласуются с наблюдаемыми периодами полураспада для некоторых из самых тяжёлых изотопов[62][63][64][73][74][75].
Также прогнозируется, что самые долгоживущие нуклиды будут лежать на линии бета-стабильности, поскольку прогнозируется, что бета-распад будет конкурировать с другими путями распада вблизи предсказанного центра острова, особенно для изотопов элементов 111—115. В отличие от других режимов распада, предсказанных для этих нуклидов, бета-распад не меняет массового числа. Вместо этого нейтрон превращается в протон или наоборот, образуя соседнюю изобару ближе к центру стабильности (изобару с наименьшим избытком массы). Например, значительные ветви бета-распада могут существовать в таких нуклидах, как 291Fl и 291Nh; эти нуклиды имеют лишь на несколько нейтронов больше, чем известные нуклиды, и могут распадаться по «узкому пути» к центру острова стабильности[1]. Возможная роль бета-распада весьма неопределена, поскольку прогнозируется, что некоторые изотопы этих элементов (например, 290Fl и 293Mc) будут иметь более короткий частичный период полураспада для альфа-распада. Бета-распад уменьшит конкуренцию и приведёт к тому, что альфа-распад останется доминирующим каналом распада, если только в супердеформированных изомерах этих нуклидов не будет дополнительной устойчивости к альфа-распаду[76].
.svg.png)
Учитывая все режимы распада, различные модели указывают на сдвиг центра острова (то етсь самого долгоживущего нуклида) от 298Fl к меньшему атомному номеру и конкуренцию между альфа-распадом и спонтанным делением в этих нуклидах[77]; к ним относятся периоды полураспада 291Cn и 293Cn 100 лет[52][72], период полураспада 296Cn 1000 лет[52], период полураспада 294Ds 300 лет[69] и период полураспада 293Ds 3500 лет[78][79], с 294Ds и 296Cn точно на N = 184 заполнения оболочки. Также было высказано предположение, что эта область повышенной стабильности для элементов с 112 ≤ З ≤ 118 вместо этого может быть следствием деформации ядра, и что истинный центр острова стабильности сферических сверхтяжёлых ядер находится около 306Ubb (Z = 122, N = 184)[21]. Эта модель определяет остров стабильности как область с наибольшим сопротивлением делению, а не с самым длинным общим периодом полураспада[21]; по-прежнему прогнозируется, что нуклид 306Ubb будет иметь короткий период полураспада по отношению к альфа-распаду[2][64]. Островом стабильности сферических ядер также может быть «коралловый риф» (то есть широкая область повышенной стабильности без чёткого «пика») вокруг N = 184 и 114 ≤ Z ≤ 120, причём период полураспада быстро уменьшается с увеличением атомного номера из-за комбинированного эффекта заполнения оболочек протонов и нейтронов[80].
Ещё одним потенциально важным способом распада самых тяжёлых сверхтяжёлых элементов был предложен кластерный распад румынскими физиками Дорином Н. Поэнару и Раду А. Гергеску Radu A. Gherghescu и немецким физиком В. Грайнером. Ожидается, что его коэффициент ветвления относительно альфа-распада будет увеличиваться с увеличением атомного номера, так что он может конкурировать с альфа-распадом вокруг Z = 120 и, возможно, станет доминирующим режимом распада более тяжёлых нуклидов вокруг Z = 124. Таким образом, ожидается, что он будет играть более важную роль за пределами центра острова стабильности (хотя всё ещё находится под влиянием оболочечных эффектов), если только центр острова не находится в области с более высоким атомным номером, чем прогнозировалось[81].
Возможные наблюдения в естественной среде
Хотя период полураспада сверхтяжёлых элементов в сотни или тысячи лет был бы относительно долгим, он слишком короток для того, чтобы такие нуклиды существовали на Земле изначально. Кроме того, нестабильность ядер, промежуточных между первичными актинидами (232Th, 235U и 238U) и островом стабильности, может ингибировать образование ядер внутри острова в r-процессе нуклеосинтеза. Различные модели предполагают, что спонтанное деление будет доминирующим способом распада ядер с A > 280, и что деление, вызванное нейтронами или с задержкой бета-излучения — соответственно захват нейтрона и бета-распад, сразу за которым следует деление, — станут основными каналами реакции. В результате бета-распад в сторону острова стабильности может происходить только по очень узкому пути или может быть полностью заблокирован делением, что исключает синтез нуклидов внутри острова[82]. Считается, что ненаблюдение сверхтяжёлых нуклидов, таких как 292Hs и 298Fl, в природе является следствием низкого выхода r-процесса, возникающего в результате этого механизма, а также слишком короткого периода полураспада, чтобы позволить сохраняться измеримым количествам в природе[83][n]. Различные исследования с использованием ускорительной масс-спектроскопии и кристаллических сцинтилляторов сообщили о верхних пределах естественного содержания таких долгоживущих сверхтяжёлых ядер порядка 10−14 по сравнению с их стабильными гомологами[86].
Несмотря на эти препятствия на пути их синтеза, исследование, опубликованное в 2013 году группой российских физиков под руководством В. Загребаева, предполагает, что самые долгоживущие изотопы коперниция могут встречаться в количестве 10−12 по сравнению со свинцом, благодаря чему их можно обнаружить в космических лучах[58]. Аналогичным образом, в эксперименте 2013 года группа российских физиков под руководством Александра Багули сообщила о возможном наблюдении трёх космогенных сверхтяжёлых ядер в кристаллах оливина в метеоритах. Атомный номер этих ядер оценивался в диапазоне от 105 до 130, при этом одно ядро, вероятно, ограничивалось диапазоном от 113 до 129, а время их жизни оценивалось как минимум в 3000 лет. Хотя это наблюдение ещё не подтверждено независимыми исследованиями, оно убедительно свидетельствует о существовании острова стабильности и согласуется с теоретическими расчётами периодов полураспада этих нуклидов[87][88][89].
Распад тяжёлых, долгоживущих элементов на острове стабильности является предполагаемым объяснением необычного присутствия короткоживущих радиоактивных изотопов, наблюдаемого в Звезде Пшибыльского[90].
Ряд астероидов, таких как (33) Полигимния, (675) Людмила и (1686) Де Ситтер имеют аномально высокие значения плотности. В 2023 году группа физиков попыталась объяснить эту особенность, используя модель атома Томаса — Ферми они рассчитали атомную структуру и свойства сверхтяжёлых элементов из которых могли бы состоять такие сверхплотные астероиды. Результаты работы опубликованы в The European Physical Journal Plus[91]. Расчёты физиков показали, что элементы из острова стабильности, с атомными номерами близкими к Z=164, могут быть стабильными, а их плотность может составлять от 36,0 до 68,4 г/см3 — что очень близко к расчётному значению плотности, полученному при изучении Полигимнии (75 г/см3). Если оценки плотности астероидов подтвердятся, то, вероятно, Полигимния и другие сверхплотные астероиды состоят из неизвестных элементов из острова стабильности.
Синтез и трудности

Синтез ядер на острове стабильности оказывается очень трудным, поскольку имеющиеся в качестве исходного материала ядра не обладают необходимым количествов нейтронов. Пучки радиоактивных ионов (таких как 44S) в сочетании с актинидными мишенями (такими как 248Cm) могут позволить производить более богатые нейтронами ядра ближе к центру острова стабильности, хотя такие пучки в настоящее время недоступны с необходимой интенсивностью для проведения таких экспериментов[58][92][93]. Несколько более тяжёлых изотопов, таких как 250Cm и 254Es, всё ещё можно использовать в качестве мишеней, что позволяет производить изотопы с одним или двумя нейтронами больше, чем известные изотопы[58], хотя производство нескольких миллиграммов этих редких изотопов для создания мишени затруднено[94]. Также возможно исследовать альтернативные каналы реакций в тех же реакциях синтеза-испарения, индуцированных 48Ca, которые присутствуют в наиболее богатых нейтронами известных изотопах, а именно в тех, которые имеют более низкую энергию возбуждения (что приводит к меньшему количеству нейтронов, испускаемых во время девозбуждения), или те, которые связаны с испарением заряженных частиц (pxn, испарение протона и нескольких нейтронов, или αxn, испарение альфа-частицы и нескольких нейтронов)[95]. Это может позволить синтезировать нейтронно-обогащённые изотопы элементов 111—117[96]. Хотя прогнозируемые сечения имеют составляют порядок 1-900 fb меньше, чем при испарении только нейтронов (каналы xn), в этих реакциях всё ещё возможно генерировать недоступные иначе изотопы сверхтяжёлых элементов[95][96][97]. Некоторые из этих более тяжёлых изотопов (например, 291Mc, 291Fl и 291Nh) могут также подвергаться электронному захвату (преобразованию протона в нейтрон) в дополнение к альфа-распаду с относительно длинным периодом полураспада, распадаясь на ядра, такие как 291Cn, которые, по прогнозам, будут находиться недалеко от центра острова стабильности. Однако это остаётся в значительной степени гипотетическим процессом, поскольку сверхтяжёлые ядра вблизи линии бета-стабильности ещё не синтезированы, а предсказания их свойств значительно различаются в разных моделях[1][58].
Процесс захвата медленных нейтронов, используемый для производства нуклидов весом до 257Fm, блокируется короткоживущими изотопами фермия, которые подвергаются спонтанному делению (например, 258Fm имеет период полураспада 370 мкс); это известно как «фермиевая щель» и предотвращает синтез более тяжёлых элементов в такой реакции. Возможно, удастся обойти этот пробел, а также ещё одну предсказанную область нестабильности вокруг A = 275 и Z = 104—108, в серии управляемых ядерных взрывов с более высоким потоком нейтронов (примерно в тысячу раз превышающим потоки в существующих реакторах), имитирующим астрофизический r-процесс[58]. Такая реакция, впервые предложенная в 1972 году Х. Мелднером, могла бы позволить производить макроскопические количества сверхтяжёлых элементов внутри острова стабильности[1]; роль деления промежуточных сверхтяжёлых нуклидов весьма неопределенна и может сильно влиять на выход такой реакции[82].

Также возможно генерирование изотопов на острове стабильности, таких как 298Fl, в реакциях многонуклонной передачи при низкоэнергетических столкновениях ядер актинидов (таких как 238U и 248Cm)[92]. Этот механизм обратного квазиделения (частичный синтез с последующим делением со сдвигом от массового равновесия, приводящим к образованию большего количества асимметричных продуктов)[98] может открыть путь к острову стабильности, если оболочечные эффекты вокруг Z = 114 достаточно сильные, хотя и более лёгкие элементы, такие как нобелий и сиборгий (Z = 102—106), по прогнозам, будут иметь более высокую урожайность[58][99]. Предварительные исследования реакций переноса 238U + 238U и 238U + 248Cm не привели к образованию элементов тяжелее менделевия (Z = 101), хотя повышенный выход последней реакции предполагает, что использование даже более тяжёлых мишеней, таких как 254Es (если таковые имеются), может позволить производить сверхтяжёлые элементы[100]. Этот результат подтверждается более поздними расчётами, предполагающими, что выход сверхтяжёлых нуклидов (с Z ≤ 109), вероятно, будет выше в реакциях переноса с использованием более тяжёлых мишеней[93]. Исследование 238U, проведённое в 2018 году 238U + 232Th на циклотроне Техасского института A&M, авторы Сара Вуэншель Sara Wuenschel и др. обнаружил несколько неизвестных альфа-распадов, которые, возможно, можно отнести к новым, нейтронно-богатым изотопам сверхтяжёлых элементов с 104 < Z < 116, хотя для однозначного определения атомного номера продуктов необходимы дальнейшие исследования[93][101]. Этот результат убедительно свидетельствует о том, что оболочечные эффекты оказывают существенное влияние на сечения, и что остров стабильности, возможно, может быть достигнут в будущих экспериментах с использованием реакций переноса[101].
Другие островки стабильности
Дальнейшие заполнения оболочки за основным островом стабильности в районе Z = 112—114 могут привести к появлению дополнительных островков стабильности. Хотя предсказания местоположения следующих магических чисел значительно различаются, считается, что вокруг более тяжёлых ядер с дважды магическим ядрами существуют два значительных острова; первый около 354126 (с 228 нейтронами), а второй около 472164 или 482164 (с 308 или 318 нейтронами)[33][69][102]. Нуклиды на этих двух островах стабильности могут быть особенно устойчивы к спонтанному делению и иметь период полураспада альфа-распада, измеряемый годами, таким образом, имея сравнимую стабильность с элементами, находящимися вблизи флеровия[33]. Другие области относительной стабильности могут также появиться при более слабых замыканиях протонных оболочек в бета-стабильных нуклидах; такие возможности включают регионы около 342126[103] и 462154[104]. Существенно большее электромагнитное отталкивание между протонами в таких тяжёлых ядрах может значительно снизить их стабильность и, возможно, ограничить их существование локализованными островками вблизи оболочечных эффектов[105]. Это может привести к изоляции этих островов от основной таблице изотопов, поскольку промежуточные нуклиды и, возможно, элементы в «море нестабильности» будут быстро подвергаться делению и попросту не существовать[102]. Также возможно, что за пределами области относительной стабильности вокруг элемента 126 более тяжёлые ядра будут находиться за пределами порога деления, заданного моделью жидкой капли, и, таким образом, подвергаться делению с очень коротким временем жизни, что делает их практически несуществующими даже вблизи больших магических чисел[103].
Также было высказано предположение, что в области за пределами A > 300, может существовать целый «континент стабильности», состоящий из гипотетической фазы стабильной кварковой материи, состоящей из свободно текущих u- и d-кварков, а не кварков, связанных в протоны и нейтроны. Предполагается, что такая форма материи является основным состоянием барионной материи с большей энергией связи на барион, чем ядерная материя, что способствует распаду ядерной материи за пределами этого массового порога в кварковую материю. Если такое состояние вещества существует, его, возможно, можно было бы синтезировать в тех же реакциях синтеза, которые приводят к образованию обычных сверхтяжёлых ядер, и оно было бы стабилизировано против деления вследствие его более сильного связывания, которого достаточно для преодоления кулоновского отталкивания[106].
Примечания
Комментарии
- ↑ Считалось, что самым тяжёлым стабильным элементом является висмут (атомный номер 83) до 2003 года, когда было обнаружено, что его единственный стабильный изотоп 209Bi подвергается альфа-распаду[12].
- ↑ Теоретически возможен распад других наблюдательно стабильных нуклидов, хотя их предсказанные периоды полураспада настолько велики, что этот процесс никогда не наблюдался[13].
- ↑ Область повышенной стабильности включает торий (Z = 90) и уран (Z = 92), периоды полураспада которых сравнимы с возрастом Земли. Элементы, промежуточные между висмутом и торием, имеют более короткий период полураспада, а более тяжёлые ядра, помимо урана, становятся более нестабильными с увеличением атомного номера[14].
- ↑ Разные источники дают разные значения периода полураспада; самые последние опубликованные значения в литературе и NUBASE указаны для справки.
- ↑ Неподтверждённый 278Bh может иметь более длительный период полураспада - 11,5 мин[43].
- 1 2 3 4 5 6 7 8 9 10 Для элементов 109–118 самый долгоживущий из известных изотопов всегда является самым тяжёлым из обнаруженных на данный момент. Это заставляет предположить, что среди ещё более тяжёлых изотопов есть не открытые долгоживущие изотопы[46].
- ↑ Неподтверждённый период полураспада 282Mt может составлять 1,1 минуты.[43]
- ↑ Неподтверждённый 286Rg может иметь более длительный период полураспада — 10,7 мин[43].
- ↑ Неподтверждённый 290Fl может иметь более длительный период полураспада - 19 секунд[43].
- ↑ Это концепция, отличная от гипотетического синтеза при комнатной температуре (холодный синтез); поскольку относится к реакциям синтеза с более низкой энергией возбуждения.
- ↑ Оганесян заявил, что период полураспада элемента 114 будет порядка 10−19 с при отсутствии стабилизирующих эффектов в окрестностях теоретического острова[55].
- ↑ Международный союз теоретической и прикладной химии (ИЮПАК) определяет предел существования ядра при периоде полураспада 10−14 секунд; примерно это время, необходимое нуклонам для того, чтобы образовать ядерные оболочки и образовать таким образом нуклид[70].
- ↑ Хотя такие ядра могут быть синтезированы и серия сигналов распада может быть зарегистрирована, распады быстрее, чем одна микросекунда, могут накапливаться с последующими сигналами и, таким образом, быть неразличимы, особенно когда могут образоваться несколько неохарактеризованных ядер и испустить серия подобных альфа-частиц[71]. Таким образом, основная трудность заключается в том, чтобы приписать распады правильному родительскому ядру, поскольку сверхтяжёлый атом, который распадается до того, как достигнет детектора, вообще не будет зарегистрирован[72].
- ↑ Наблюдение долгоживущих изотопов рентгения (с A = 261, 265) и унбибия (A = 292) в природе было заявлено израильским физиком Амноном Мариновым и др.,[84][85] хотя оценки использованной методов и последующие безуспешные поиски вызывают серьёзные сомнения в этих результатах[37][86].
Источники
- 1 2 3 4 Zagrebaev, V. (2012). Opportunities for synthesis of new superheavy nuclei (What really can be done within the next few years). 11th International Conference on Nucleus-Nucleus Collisions (NN2012). San Antonio, Texas, US. pp. 24–28. Архивировано 3 марта 2016.
- 1 2 3 4 5 6 7 8 Karpov, A. V. (2012). Decay properties and stability of the heaviest elements (PDF). International Journal of Modern Physics E. 21 (2): 1250013—1–1250013-20. Bibcode:2012IJMPE..2150013K. doi:10.1142/S0218301312500139. Архивировано (PDF) 3 декабря 2016. Дата обращения: 15 октября 2023.
- ↑ Moskowitz, C. (2014). Superheavy Element 117 Points to Fabled "Island of Stability" on Periodic Table. Scientific American. Архивировано 8 мая 2014. Дата обращения: 20 апреля 2019.
- ↑ Roberts, S. (2019). Is It Time to Upend the Periodic Table? – The iconic chart of elements has served chemistry well for 150 years. But it's not the only option out there, and scientists are pushing its limits. The New York Times. Архивировано 27 августа 2019. Дата обращения: 27 августа 2019.
- ↑ Yu. Ts. Oganessian et al. Measurements of cross sections and decay properties of the isotopes of elements 112, 114, and 116 produced in the fusion reactions 233,238U, 242Pu, and 248Cm+48Ca // Physical Review C. — American Physical Society, 2004. — Т. 70, вып. 6. — С. 064609. — doi:10.1103/PhysRevC.70.064609. (Дата обращения: 28 октября 2012)
- См. также свободно доступный препринт Архивная копия от 28 мая 2008 на Wayback Machine, несколько отличающийся от статьи в Phys. Rev. C (Дата обращения: 28 октября 2012)
- ↑ Молчанов М. Открытие подтверждено // В мире науки. — 2006. — № 7 (июль). — С. 74—75. Архивировано 28 сентября 2007 года.
- 1 2 3 Superheavy Element 114 Confirmed: A Stepping Stone to the Island of Stability. Berkeley Lab (2009). Дата обращения: 23 октября 2019. Архивировано 20 июля 2019 года.
- 1 2 3 4 5 Oganessian, Yu. Ts. (2015). A beachhead on the island of stability. Physics Today. 68 (8): 32–38. Bibcode:2015PhT....68h..32O. doi:10.1063/PT.3.2880.
- ↑ Thoennessen, M. Discovery of Nuclides Project (2018). Дата обращения: 13 сентября 2019. Архивировано 26 апреля 2019 года.
- 1 2 Podgorsak, 2016
- ↑ Atomic structure. Australian Radiation Protection and Nuclear Safety Agency. Commonwealth of Australia (2017). Дата обращения: 16 февраля 2019. Архивировано 15 ноября 2019 года.
- ↑ Marcillac, P.; Coron, N.; Dambier, G.; et al. (2003). Experimental detection of α-particles from the radioactive decay of natural bismuth. Nature. 422 (6934): 876–878. Bibcode:2003Natur.422..876D. doi:10.1038/nature01541. PMID 12712201. S2CID 4415582.
- ↑ Belli, P.; Bernabei, R.; Danevich, F. A.; et al. (2019). Experimental searches for rare alpha and beta decays. European Physical Journal A. 55 (8): 140—1–140-7. arXiv:1908.11458. Bibcode:2019EPJA...55..140B. doi:10.1140/epja/i2019-12823-2. ISSN 1434-601X. S2CID 201664098.
- 1 2 Greiner, W. (2012). Heavy into Stability. Physics. 5: 115—1–115-3. Bibcode:2012PhyOJ...5..115G. doi:10.1103/Physics.5.115.
- ↑ Terranova, M. L. (2022). The periodic table of the elements: the search for transactinides and beyond. Rendiconti Lincei. Scienze Fisiche e Naturali. 33 (1): 1–16. Bibcode:2022RLSFN..33....1T. doi:10.1007/s12210-022-01057-w.
- 1 2 3 Tachibana, T.; Katakura, J.; Minato, F.; Koura, H. Chart of the Nuclides. Japan Atomic Energy Agency (2015). Дата обращения: 12 апреля 2019. Архивировано 30 марта 2019 года.
- ↑ Blatt, J. M. Theoretical nuclear physics / J. M. Blatt, V. F. Weisskopf. — Dover Publications, 2012. — P. 7–9. — ISBN 978-0-486-13950-0.
- 1 2 Sacks, O. (2004). Greetings From the Island of Stability. The New York Times. Архивировано из оригинала 4 июля 2018. Дата обращения: 16 февраля 2019.
- 1 2 3 4 5 6 Hoffman, 2000
- 1 2 3 Möller, P. (2016). The limits of the nuclear chart set by fission and alpha decay (PDF). EPJ Web of Conferences. 131: 03002—1–03002-8. Bibcode:2016EPJWC.13103002M. doi:10.1051/epjconf/201613103002. Архивировано (PDF) 11 марта 2020. Дата обращения: 15 октября 2023.
- 1 2 3 4 Kratz, J. V. (2011). The Impact of Superheavy Elements on the Chemical and Physical Sciences (PDF). 4th International Conference on the Chemistry and Physics of the Transactinide Elements. pp. 30–37. Архивировано (PDF) 3 марта 2016. Дата обращения: 27 августа 2013.
- 1 2 Koura, H. (2013). Single-Particle Levels of Spherical Nuclei in the Superheavy and Extremely Superheavy Mass Region. Journal of the Physical Society of Japan. 82 (1): 014201—1–014201-5. Bibcode:2013JPSJ...82a4201K. doi:10.7566/JPSJ.82.014201. Архивировано 4 июля 2021. Дата обращения: 15 октября 2023.
- 1 2 3 Kragh, 2018
- ↑ Источник (PDF) (Report). Архивировано (PDF) 21 октября 2019. Дата обращения: 15 октября 2023.
- ↑ Nave, R. Shell Model of Nucleus. HyperPhysics. Department of Physics and Astronomy, Georgia State University. Дата обращения: 22 января 2007. Архивировано 10 сентября 2018 года.
- ↑ Caurier, E. (2005). The shell model as a unified view of nuclear structure. Reviews of Modern Physics. 77 (2). arXiv:nucl-th/0402046. Bibcode:2005RvMP...77..427C. doi:10.1103/RevModPhys.77.427.
- ↑ Satake, M. Introduction to nuclear chemistry.. — Discovery Publishing House, 2010. — P. 36. — ISBN 978-81-7141-277-8.
- ↑ Ebbing, D. General chemistry / D. Ebbing, S. D. Gammon. — 8th. — Houghton Mifflin, 2007. — P. 858. — ISBN 978-0-618-73879-3.
- ↑ Dumé, B. (2005). "Magic" numbers remain magic. Physics World. IOP Publishing. Архивировано 15 ноября 2019. Дата обращения: 17 февраля 2019.
- ↑ Blank, B. (2000). Magic and Doubly-Magic Nuclei. Nuclear Physics News. 10 (4): 20–27. doi:10.1080/10506890109411553.
- ↑ Heiner Walter Meldner. Lawrence Livermore National Laboratory (2019). Дата обращения: 15 октября 2023. Архивировано 29 ноября 2022 года.
- ↑ Heiner Meldner Obituary. Legacy.com. The San Diego Union-Tribune (2019). Дата обращения: 15 октября 2023. Архивировано 17 апреля 2021 года.
- 1 2 3 4 5 6 7 8 9 Bemis, C. E. (1977). Superheavy elements – the quest in perspective (PDF). Comments on Nuclear and Particle Physics. 7 (3): 65–78. ISSN 0010-2709. Архивировано (PDF) 13 мая 2019. Дата обращения: 15 октября 2023.
- ↑ Kragh, H. (2017). The Search for Superheavy Elements: Historical and Philosophical Perspectives. pp. 8–9. arXiv:1708.04064 [physics.hist-ph].
- 1 2 Courtland, R. (2010). Weight scale for atoms could map 'island of stability'. NewScientist. Архивировано 4 июля 2019. Дата обращения: 4 июля 2019.
- 1 2 Clery, D. (2021). Hopes evaporate for the superheavy element flerovium having a long life. Science. doi:10.1126/science.abh0581. Архивировано 24 мая 2023. Дата обращения: 15 октября 2023.
- 1 2 3 4 Emsley, 2011
- ↑ Oganessian, Yu. Ts. (2015). Super-heavy element research. Reports on Progress in Physics. 78 (3): 036301—14–036301-15. Bibcode:2015RPPh...78c6301O. doi:10.1088/0034-4885/78/3/036301. PMID 25746203.
- ↑ Kondev F. G., Wang M., Huang W. J., Naimi S., Audi G. The Nubase2020 evaluation of nuclear properties (англ.) // Chinese Physics C. — 2021. — Vol. 45, iss. 3. — P. 030001-1—030001-180. — doi:10.1088/1674-1137/abddae.

- ↑ Oganessian, Yu. Ts. (2022). Investigation of 48Ca-induced reactions with 242Pu and 238U targets at the JINR Superheavy Element Factory. Physical Review C. 106. Bibcode:2022PhRvC.106b4612O. doi:10.1103/PhysRevC.106.024612.
- 1 2 Oganessian, Yu. Ts. (2022-09-29). First experiment at the Super Heavy Element Factory: High cross section of 288Mc in the243Am+48Ca reaction and identification of the new isotope 264Lr. Physical Review C. 106 (3): L031301. Bibcode:2022PhRvC.106c1301O. doi:10.1103/PhysRevC.106.L031301. Архивировано 27 марта 2023. Дата обращения: 15 октября 2023.
- 1 2 Utyonkov, V. K. (2018). Neutron-deficient superheavy nuclei obtained in the 240Pu + 48Ca reaction. Physical Review C. 97 (1): 014320—1–014320-10. Bibcode:2018PhRvC..97a4320U. doi:10.1103/PhysRevC.97.014320.
- 1 2 3 4 5 6 Hofmann, S. (2016). Review of even element super-heavy nuclei and search for element 120. The European Physical Journal A. 2016 (52): 180—15–180-17. Bibcode:2016EPJA...52..180H. doi:10.1140/epja/i2016-16180-4.
- ↑ Oganessian, Yu. Ts. (2022). New isotope 286Mc produced in the 243Am+48Ca reaction. Physical Review C. 106. Bibcode:2022PhRvC.106f4306O. doi:10.1103/PhysRevC.106.064306.
- ↑ Schädel, M. (2015). Chemistry of the superheavy elements. Philosophical Transactions of the Royal Society A. 373 (2037): 20140191–9. Bibcode:2015RSPTA.37340191S. doi:10.1098/rsta.2014.0191. PMID 25666065.
- 1 2 Oganessian, Yu. Ts. (2007). Heaviest nuclei from 48Ca-induced reactions (PDF). Journal of Physics G: Nuclear and Particle Physics. 34 (4): R233. Bibcode:2007JPhG...34R.165O. doi:10.1088/0954-3899/34/4/R01. Архивировано (PDF) 9 августа 2017. Дата обращения: 15 октября 2023.
- 1 2 3 Lodhi, 1978
- 1 2 Oganessian, Yu. Ts. (2012). Nuclei in the "Island of Stability" of Superheavy Elements. Journal of Physics: Conference Series. 337 (1). Bibcode:2012JPhCS.337a2005O. doi:10.1088/1742-6596/337/1/012005.
- 1 2 Ćwiok, S. (2005). Shape coexistence and triaxiality in the superheavy nuclei (PDF). Nature. 433 (7027): 705–709. Bibcode:2005Natur.433..705C. doi:10.1038/nature03336. PMID 15716943. Архивировано из оригинала (PDF) 23 июня 2010.
- ↑ Gsponer, A. Fourth Generation Nuclear Weapons: The physical principles of thermonuclear explosives, inertial confinement fusion, and the quest for fourth generation nuclear weapons / A. Gsponer, J.-P. Hurni. — 3rd printing of the 7th. — 2009. — P. 110–115. Архивная копия от 6 июня 2018 на Wayback Machine
- ↑ Khuyagbaatar, J. (2017). The cross sections of fusion-evaporation reactions: the most promising route to superheavy elements beyond Z = 118. EPJ Web of Conferences. 163: 00030—1–00030-5. Bibcode:2017EPJWC.16300030J. doi:10.1051/epjconf/201716300030.
- 1 2 3 4 Greiner, W.; Zagrebaev, V.; Karpov, A. Superheavy Nuclei: Which regions of nuclear map are accessible in the nearest studies? SHE-2015 1–16 (2015). Дата обращения: 30 октября 2018. Архивировано 20 сентября 2023 года.
- 1 2 Kondev F. G., Wang M., Huang W. J., Naimi S., Audi G. The Nubase2020 evaluation of nuclear properties (англ.) // Chinese Physics C. — 2021. — Vol. 45, iss. 3. — P. 030001-1—030001-180. — doi:10.1088/1674-1137/abddae.

- 1 2 Oganessian, Yu. Ts. (1999). Synthesis of Superheavy Nuclei in the 48Ca + 244Pu Reaction (PDF). Physical Review Letters. 83 (16). Bibcode:1999PhRvL..83.3154O. doi:10.1103/PhysRevLett.83.3154. Архивировано из оригинала (PDF) 30 июля 2020. Дата обращения: 31 декабря 2018.
- ↑ Chapman, K. What it takes to make a new element. Chemistry World (2016). Дата обращения: 16 января 2020. Архивировано 28 октября 2017 года.
- ↑ Oganessian, Yu. Ts. (2010). Synthesis of a New Element with Atomic Number Z = 117. Physical Review Letters. 104 (14): 142502—1–142502-4. Bibcode:2010PhRvL.104n2502O. doi:10.1103/PhysRevLett.104.142502. PMID 20481935. Архивировано 19 декабря 2016. Дата обращения: 15 октября 2023.
- ↑ Såmark-Roth, A. (2021). Spectroscopy along Flerovium Decay Chains: Discovery of 280Ds and an Excited State in 282Cn. Physical Review Letters. 126 (3): 032503—1–032503-7. Bibcode:2021PhRvL.126c2503S. doi:10.1103/PhysRevLett.126.032503. ISSN 0031-9007. PMID 33543956.
- 1 2 3 4 5 6 7 Zagrebaev, V.; Karpov, A.; Greiner, W. (2013). Future of superheavy element research: Which nuclei could be synthesized within the next few years?. Journal of Physics: Conference Series. Vol. 420. IOP Science. pp. 1–15. arXiv:1207.5700. doi:10.1088/1757-899X/468/1/012012.
- ↑ Patyk, Z. (1991). Ground-state properties of the heaviest nuclei analyzed in a multidimensional deformation space. Nuclear Physics A (англ.). 533 (1). Bibcode:1991NuPhA.533..132P. doi:10.1016/0375-9474(91)90823-O.
- ↑ Ćwiok, S. (1999). Structure of Odd-N Superheavy Elements. Physical Review Letters. 83 (6): 1108–1111. Bibcode:1999PhRvL..83.1108C. doi:10.1103/PhysRevLett.83.1108.
- 1 2 Zagrebaev, V. I. (2001). Synthesis of superheavy nuclei: How accurately can we describe it and calculate the cross sections? (PDF). Physical Review C. 65 (1): 014607—1–014607-14. Bibcode:2001PhRvC..65a4607Z. doi:10.1103/PhysRevC.65.014607. Архивировано (PDF) 15 апреля 2021. Дата обращения: 15 октября 2023.
- 1 2 3 Samanta, C. (2007). Predictions of alpha decay half lives of heavy and superheavy elements. Nuclear Physics A. 789 (1–4): 142–154. arXiv:nucl-th/0703086. Bibcode:2007NuPhA.789..142S. CiteSeerX 10.1.1.264.8177. doi:10.1016/j.nuclphysa.2007.04.001.
- 1 2 3 Chowdhury, P. R. (2008). Search for long lived heaviest nuclei beyond the valley of stability. Physical Review C. 77 (4): 044603—1–044603-14. arXiv:0802.3837. Bibcode:2008PhRvC..77d4603C. doi:10.1103/PhysRevC.77.044603.
- 1 2 3 4 Chowdhury, P. R. (2008). Nuclear half-lives for α-radioactivity of elements with 100 ≤ Z ≤ 130. Atomic Data and Nuclear Data Tables. 94 (6): 781–806. arXiv:0802.4161. Bibcode:2008ADNDT..94..781C. doi:10.1016/j.adt.2008.01.003.
- ↑ Dvořák, J. (2006). Doubly Magic Nucleus 270
108Hs
162. Physical Review Letters. 97 (24): 242501—1–242501-4. Bibcode:2006PhRvL..97x2501D. doi:10.1103/PhysRevLett.97.242501. PMID 17280272. Архивировано 16 ноября 2019. Дата обращения: 15 октября 2023. - 1 2 Möller, P. (1998). Stability and Production of Superheavy Nuclei. AIP Conference Proceedings. 425 (1): 75. arXiv:nucl-th/9709016. Bibcode:1998AIPC..425...75M. doi:10.1063/1.55136.
- ↑ Meng, X. (2020). Ground state properties and potential energy surfaces of 270Hs from multidimensionally constrained relativistic mean field model. Science China Physics, Mechanics & Astronomy. 63 (1): 212011—1–212011-9. arXiv:1910.10552. Bibcode:2020SCPMA..6312011M. doi:10.1007/s11433-019-9422-1.
- ↑ Moody, K. J. Synthesis of Superheavy Elements // The Chemistry of Superheavy Elements / Schädel ; Shaughnessy. — 2nd. — Springer, 2014. — P. 3. — ISBN 978-3-642-37466-1.
- 1 2 3 4 5 6 Koura, H. (2011). Decay modes and a limit of existence of nuclei in the superheavy mass region (PDF). 4th International Conference on the Chemistry and Physics of the Transactinide Elements. Архивировано (PDF) 4 июля 2021. Дата обращения: 18 ноября 2018.
- ↑ Emsley, 2011, p. 590
- ↑ Sun, M. D.; Liu, Z.; Huang, T. H.; et al. (2017). New short-lived isotope 223Np and the absence of the Z = 92 subshell closure near N = 126. Physics Letters B. 771: 303–308. Bibcode:2017PhLB..771..303S. doi:10.1016/j.physletb.2017.03.074.
- 1 2 Palenzuela, Y. M. (2012). Systematic Study of Decay Properties of Heaviest Elements (PDF). Bulletin of the Russian Academy of Sciences: Physics. 76 (11): 1165–1171. Bibcode:2012BRASP..76.1165P. doi:10.3103/S1062873812110172. ISSN 1062-8738. Архивировано (PDF) 18 ноября 2018. Дата обращения: 15 октября 2023.
- ↑ Chowdhury, P. R. (2006). α decay half-lives of new superheavy elements. Physical Review C. 73 (1): 014612—1–014612-7. arXiv:nucl-th/0507054. Bibcode:2006PhRvC..73a4612C. doi:10.1103/PhysRevC.73.014612.
- ↑ Chowdhury, P. R. (2007). α decay chains from element 113. Physical Review C. 75 (4): 047306—1–047306-3. arXiv:0704.3927. Bibcode:2007PhRvC..75d7306C. doi:10.1103/PhysRevC.75.047306.
- ↑ Samanta, C. (2007). Quantum tunneling in 277112 and its alpha-decay chain. Journal of the Physical Society of Japan. 76 (12): 124201—1–124201-4. arXiv:0708.4355. Bibcode:2007JPSJ...76l4201S. doi:10.1143/JPSJ.76.124201.
- ↑ Sarriguren, P. (2019). Microscopic calculations of weak decays in superheavy nuclei. Physical Review C. 100 (1): 014309—1–014309-12. arXiv:1907.06877. Bibcode:2019PhRvC.100a4309S. doi:10.1103/PhysRevC.100.014309.
- ↑ Nilsson, S. G. (1969). On the nuclear structure and stability of heavy and superheavy elements. Nuclear Physics A. 131 (1): 53–55. Bibcode:1969NuPhA.131....1N. doi:10.1016/0375-9474(69)90809-4. Архивировано 18 ноября 2019. Дата обращения: 15 октября 2023.
- ↑ P. Roy Chowdhury (2008). Search for long lived heaviest nuclei beyond the valley of stability. Phys. Rev. C. 77 (4). arXiv:0802.3837. Bibcode:2008PhRvC..77d4603C. doi:10.1103/PhysRevC.77.044603.
- ↑ P. Roy Chowdhury (2008). Nuclear half-lives for α -radioactivity of elements with 100 ≤ Z ≤ 130. Atomic Data and Nuclear Data Tables. 94 (6): 781–806. arXiv:0802.4161. Bibcode:2008ADNDT..94..781C. doi:10.1016/j.adt.2008.01.003.
- ↑ Malov, L. A. (2021). Landscape of the island of stability with self-consistent mean-field potentials. Physical Review C. 104 (6): 064303—1–064303-12. Bibcode:2021PhRvC.104f4303M. doi:10.1103/PhysRevC.104.064303.
- ↑ Poenaru, D. N. (2011). Heavy-Particle Radioactivity of Superheavy Nuclei. Physical Review Letters. 107 (6): 062503—1–062503-4. arXiv:1106.3271. Bibcode:2011PhRvL.107f2503P. doi:10.1103/PhysRevLett.107.062503. PMID 21902317.
- 1 2 Petermann, I (2012). Have superheavy elements been produced in nature?. European Physical Journal A. 48 (122): 122. arXiv:1207.3432. Bibcode:2012EPJA...48..122P. doi:10.1140/epja/i2012-12122-6. Архивировано 4 июля 2021. Дата обращения: 15 октября 2023.
- ↑ Ludwig, P. (2012). Search for superheavy elements with 292 ≤ A ≤ 310 in nature with accelerator mass spectrometry (PDF). Physical Review C. 85 (2): 024315—1–024315-8. doi:10.1103/PhysRevC.85.024315. Архивировано (PDF) 28 декабря 2018.
- ↑ Marinov, A.; Rodushkin, I.; Pape, A.; et al. (2009). Existence of Long-Lived Isotopes of a Superheavy Element in Natural Au (PDF). International Journal of Modern Physics E. 18 (3). World Scientific Publishing Company: 621–629. arXiv:nucl-ex/0702051. Bibcode:2009IJMPE..18..621M. doi:10.1142/S021830130901280X. S2CID 119103410. Архивировано из оригинала (PDF) 14 июля 2014. Дата обращения: 12 февраля 2012.
- ↑ Marinov, A.; Rodushkin, I.; Kolb, D.; et al. (2010). Evidence for a long-lived superheavy nucleus with atomic mass number A = 292 and atomic number Z =~ 122 in natural Th. International Journal of Modern Physics E. 19 (1): 131–140. arXiv:0804.3869. Bibcode:2010IJMPE..19..131M. doi:10.1142/S0218301310014662. S2CID 117956340.
- 1 2 Belli, P. (2022). Search for naturally occurring seaborgium with radiopure 116CdWO4 crystal scintillators. Physica Scripta. 97. Bibcode:2022PhyS...97h5302B. doi:10.1088/1402-4896/ac7a6d.
- ↑ Bagulya, A. V. (2015). Charge spectrum of superheavy nuclei of galactic cosmic rays obtained in the OLIMPIA experiment. Bulletin of the Lebedev Physics Institute. 42 (5): 152–156. Bibcode:2015BLPI...42..152B. doi:10.3103/S1068335615050073.
- ↑ Alexandrov, A.; Alexeev, V.; Bagulya, A.; et al. (2019). Natural superheavy nuclei in astrophysical data. arXiv:1908.02931 [nucl-ex].
- ↑ Giuliani, S. A. (2019). Superheavy elements: Oganesson and beyond. Reviews of Modern Physics. 91 (1): 24–27. doi:10.1103/RevModPhys.91.011001.
- ↑ V. A. Dzuba (2017). Isotope shift and search for metastable superheavy elements in astrophysical data. Physical Review A. 95 (6): 062515. arXiv:1703.04250. Bibcode:2017PhRvA..95f2515D. doi:10.1103/PhysRevA.95.062515.
- ↑ Evan LaForge, Will Price, Johann Rafelski. Superheavy elements and ultradense matter (англ.) // The European Physical Journal Plus. — 2023-09-15. — Vol. 138, iss. 9. — P. 812. — ISSN 2190-5444. — doi:10.1140/epjp/s13360-023-04454-8.
- 1 2 Popeko, A. G. (2016). Perspectives of SHE research at Dubna. NUSTAR Annual Meeting 2016. Helmholtzzentrum für Schwerionenforschung, Darmstadt, Germany. pp. 22–28.
- 1 2 3 Zhu, L. (2019). Possibilities of producing superheavy nuclei in multinucleon transfer reac-tions based on radioactive targets (PDF). Chinese Physics C. 43 (12): 124103—1–124103-4. Bibcode:2019ChPhC..43l4103Z. doi:10.1088/1674-1137/43/12/124103. Архивировано из оригинала (PDF) 3 ноября 2019. Дата обращения: 3 ноября 2019.
- ↑ Roberto, J. B. Actinide Targets for Super-Heavy Element Research. cyclotron.tamu.edu 3–6. Texas A & M University (2015). Дата обращения: 30 октября 2018. Архивировано 17 апреля 2020 года.
- 1 2 Hong, J.; Adamian, G. G.; Antonenko, N. V.; Jachimowicz, P.; Kowal, M. (2023-04-26). Interesting fusion reactions in superheavy region (PDF). IUPAP Conference "Heaviest nuclei and atoms". Joint Institute for Nuclear Research. Архивировано (PDF) 30 июля 2023. Дата обращения: 2023-07-30.
- 1 2 Hong, J. (2017). Ways to produce new superheavy isotopes with Z = 111–117 in charged particle evaporation channels. Physics Letters B. 764: 42–48. Bibcode:2017PhLB..764...42H. doi:10.1016/j.physletb.2016.11.002.
- ↑ Siwek-Wilczyńska, K. (2019). How to produce new superheavy nuclei?. Physical Review C. 99 (5): 054603—1–054603-5. arXiv:1812.09522. doi:10.1103/PhysRevC.99.054603.
- ↑ Sekizawa, K. (2019). TDHF theory and its extensions for the multinucleon transfer reaction: A mini review. Frontiers in Physics. 7: 1–6. arXiv:1902.01616. Bibcode:2019FrP.....7...20S. doi:10.3389/fphy.2019.00020.
{{cite journal}}: Википедия:Обслуживание CS1 (не помеченный открытым DOI) (ссылка) - ↑ Zagrebaev, V. (2008). Synthesis of superheavy nuclei: A search for new production reactions. Physical Review C. 78 (3): 034610—1–034610-12. arXiv:0807.2537. Bibcode:2008PhRvC..78c4610Z. doi:10.1103/PhysRevC.78.034610.
- ↑ Schädel, M. (2016). Prospects of heavy and superheavy element production via inelastic nucleus-nucleus collisions – from 238U + 238U to 18O + 254Es (PDF). EPJ Web of Conferences. 131: 04001—1–04001-9. doi:10.1051/epjconf/201613104001. Архивировано 27 марта 2023. Дата обращения: 15 октября 2023.
- 1 2 Wuenschel, S. (2018). An experimental survey of the production of alpha decaying heavy elements in the reactions of 238U + 232Th at 7.5-6.1 MeV/nucleon. Physical Review C. 97 (6): 064602—1–064602-12. arXiv:1802.03091. Bibcode:2018PhRvC..97f4602W. doi:10.1103/PhysRevC.97.064602.
- 1 2 Greiner, W. (2013). Nuclei: superheavy-superneutronic-strange-and of antimatter (PDF). Journal of Physics: Conference Series. 413 (1): 012002—1–012002-9. Bibcode:2013JPhCS.413a2002G. doi:10.1088/1742-6596/413/1/012002. Архивировано (PDF) 30 марта 2019. Дата обращения: 15 октября 2023.
- 1 2 Okunev, V. S. (2018). About islands of stability and limiting mass of the atomic nuclei. IOP Conference Series: Materials Science and Engineering. 468: 012012—1–012012-13. doi:10.1088/1757-899X/468/1/012012.
- ↑ Walz, D. R.; Maly, J. Search for superheavy elements among fossil fission tracks in zircon 15 (1980). Дата обращения: 15 октября 2023. Архивировано 9 августа 2020 года.
- ↑ Afanasjev, A. F. (2018). Hyperheavy nuclei: Existence and stability. Physics Letters B. 782: 533–540. arXiv:1804.06395. Bibcode:2018PhLB..782..533A. doi:10.1016/j.physletb.2018.05.070.
- ↑ Holdom, B. (2018). Quark matter may not be strange. Physical Review Letters. 120 (1): 222001—1–222001-6. arXiv:1707.06610. Bibcode:2018PhRvL.120v2001H. doi:10.1103/PhysRevLett.120.222001. PMID 29906186.
Литература
- Emsley, J. Nature's Building Blocks: An A-Z Guide to the Elements. — New. — Oxford University Press, 2011. — ISBN 978-0-19-960563-7.
- Hoffman, D. C. The Transuranium People: The Inside Story / D. C. Hoffman, A. Ghiorso, G. T. Seaborg. — World Scientific, 2000. — ISBN 978-1-78326-244-1.
- Kragh, H. From Transuranic to Superheavy Elements: A Story of Dispute and Creation. — Springer, 2018. — ISBN 978-3-319-75813-8.
- Superheavy Elements: Proceedings of the International Symposium on Superheavy Elements. — Pergamon Press, 1978. — ISBN 978-0-08-022946-1.
- Podgorsak, E. B. Radiation physics for medical physicists. — 3rd. — Springer, 2016. — ISBN 978-3-319-25382-4.
Ссылки
- Оганесян Ю.Ц. Острова стабильности // В мире науки : журнал. — 2005. — № 3. — С. 66—77. Архивировано 20 мая 2008 года.
- Оганесян Ю. Ц. Острова стабильности сверхтяжелых элементов // Научно-популярная лекция, прочитанная в ФИАНе в 2008 г.
- Транковский Сергей. Остров Стабильности за пределами таблицы Менделеева. Наука и жизнь» (2012). Дата обращения: 23 октября 2023.