Кирпичная печь

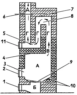
А — топливник, Б — зольник, В — хайло, Г — конвективная система каналов, Д — труба.
1 дверца зольника, 2 дверца топливника, 3 вход в топливник, 4 свод, 5 подвёртка, 6 задвижка, 7 перекрыша, 8 перевал, 9 колосники, 10 под, 11 прочистная дверка.
Крестиками обозначен огнеупорный кирпич
Кирпичная печь — печь, собранная из керамического кирпича.
Фундамент
Печи массой 750 кг и более устанавливают на отдельный фундамент или основание[1][2]. При меньшем весе допускается установка на перекрытие при условии его достаточной несущей способности.
Материалы изготовления
- Кирпичи
Основным видом кирпича является полнотелый керамический кирпич со стандартными в России размерами 250×120×65 мм. Марка кирпича не ниже М100[3][4], плотность более 1600 кг/м3[5] (вес одного кирпича более 3,12 кг). Для топливных камер и начальных путей дымохода, подвергающихся воздействию высоких температур порядка 1600—1850 °C, используется огнеупорный шамотный кирпич с размерами 250×123×65 или 230×112×65 мм[6].
- Раствор
- Глиняный — используется для кладки печи и трубы до уровня кровли.
- Известковый — фундамент в сухом грунте[3].
- Цементный — фундамент во влажном грунте[3], труба выше уровня кровли[7][4].
- Известково-цементный — часть трубы, проходящая в чердачном помещении[7][4].
Для кладки тугоплавкого кирпича (думаю нужно уточнить, что такое тугоплавкий кирпич, потому что выше в описании другой кирпич) используют тугоплавкую глину с песком, для огнеупорного кирпича огнеупорную глину с шамотным порошком[4][3].
- Печные приборы
Печные приборы в основном изготавливаются из чугуна. Перечень приборов:
- Колосниковая решётка или набор одиночных колосников.
- Дверца топливника.
- Дверца поддувала или зольника.
- Прочистные дверцы — закрывают отверстия для прочистки каналов печи.
- Дверца вьюшки.
- Вьюшка — двойная крышка (блинок и крышка) с рамкой для открытия и закрытия дымового канала. Находится за вьюшечной дверцей.
- Задвижка — пластинка в рамке для открытия и закрытия дымового канала.
- Плита с конфорками (с закрываемыми отверстиями) или без них (сплошная).
- Заслонка для закрытия устья русской печи.
Классификация
- По назначению
- Отопительные: голландка, печь Утермарка.
- Отопительно варочные: шведка, кухонная плита с обогревательным щитком.
- Варочные — кухонная плита.
- Многоцелевые: русская печь.
- Специального назначения: банная печь, хлебопекарная печь, печь для обжига.
- По толщине стенок
- Толстостенные — в полкирпича или целый кирпич (120 или 250 мм).
- Тонкостенные — в четверть кирпича (65 мм). Наружные стенки топливника до его перекрытия выкладываются в полкирпича.
- По конвективной системе
- С последовательными дымовыми каналами.
- С параллельными дымовыми каналами (например с одним подъёмным и несколькими опускными).
- С бесканальной (колпаковой) конвективной системой (газы входят и выходят в нижней части колпака).
- По виду отделки
- Без отделки.
- Оштукатуренные и побеленные (окрашенные).
- Изразцовые.
- Заключённые в металлический футляр и окрашенные (например печь Утермарка).
По виду топливной камеры
Каждому виду топлива соответствует определённая форма топливной камеры. Под (нижняя площадка) камеры может быть глухой (например как у русской печи) или колосниковый. Под колосниками находится поддувальная (зольниковая) камера.
Минимальная толщина наружных стенок топливника полкирпича, для печей мощностью более 3489 Вт она составляет от 3/4 до целого кирпича, в зависимости от теплоотдачи печи[8].
| Вид топлива | Толщина слоя топлива (см) при мощности печи | Мин. высота топливника (см) при мощности печи | ||
|---|---|---|---|---|
| до 3489 Вт | св. 3489 Вт | до 3489 Вт | св. 3489 Вт | |
| Дрова с влажностью 25 % | 25 | 35 | 56 | 77 |
| Торф кусковой с влажностью 30 % | 20 | 30 | 56 | 77 |
| Бурый уголь подмосковный | 9 | 15 | 49 | 63 |
| Каменный уголь | 10 | 16 | 42 | 56 |
| Антрацит | 15 | 24 | 35 | 42 |
Для дров
Древесина образует высокое пламя, так как большая её часть, перед тем как сгореть, переходит в газообразное состояние (процесс возгонки)[10]. Для обеспечения наиболее полного сгорания топливник отопительных печей должен иметь достаточное свободное пространство над слоем дров (указано в таблице). Максимальная высота от колосниковой решётки до перекрытия топливника 1 м[8]. Высота топливника печи с варочной поверхностью находится в пределах 280—420 мм (4—6 рядов кладки[11]), что обусловлено необходимостью контакта пламени с чугунной плитой. Минимальная длина 35 см[12].
Топливник дровяных печей мощностью более 3000 Вт рекомендуется футеровать огнеупорным кирпичом[12].
Для угля
Для горения бурого и каменного угля наличие колосниковой решётки обязательно. Топливник для каменного угля футеруется[13]. Стенки топливника для антрацита выкладываются из огнеупорного кирпича полностью[14].
- Виды топок
Для дров
Для каменного угля
Для бурого угля или сухого кускового торфа
Для торфа повышенной влажности.
Стрелкой показан выход пара через пароотводящую щель
Труба

10-11-12 стропила, обрешётка, кровля
Кирпичная труба по местоположению:
- Насадная — устанавливается на перекрыше толстостенной печи[15].
- Коренная — отдельностоящая на собственном фундаменте.
- Стенная — дымовой канал находится в кирпичной стене здания.
Части трубы:
- Распушка, разделка — утолщение стенки трубы в месте её прохождения через потолочное перекрытие. Противопожарный элемент.
- Выдра — утолщение стенки, нависающее над кровлей. Закрывает сверху щель между трубой и кровлей от попадания атмосферных осадков.
- Оголовок — утолщение стенки на самом верху трубы.
Размеры канала трубы, не менее[16]:
- 140×140 мм — для печей мощностью до 3500 Вт.
- 140×200 мм — 3500—5200 Вт.
- 140×270 мм — 5200—7000 Вт.
Подбор отопительной печи

1 — прихожая, 2 — помещение с двумя углами, 3 — неугловое помещение, 4 — помещение с одним углом
Теплопотери помещения
Требуемая мощность отопительной печи определяется теплопотерями помещения, которые зависят от многих факторов: климатический условий, площади и высоты помещения, количества внешних стен, вида строительных материалов и степени утеплённости дома. Средняя часовая теплоотдача печи должна равняться теплопотерям отапливаемого помещения[18] (±15 %[19]).
Приблизительно вычисляются по формуле[19]:
- Q = 125 ⋅ f ⋅ k — для угловых помещений, Q = 125 ⋅ k — для угловых помещений менее 10 м2.
- Q = 80 ⋅ f ⋅ k — для неугловых помещений, Q = 80 ⋅ k — для неугловых помещений менее 10 м2,
где Q — теплопотери помещения (Вт), 125 и 80 — эмпирические коэффициенты, f — площадь пола (м2), k — коэффициент теплопередачи наружных стен (Вт/м2).
k = 1/R[20], где R — сопротивление теплопередаче ограждающих конструкций (в данном случае наружных стен) (м2·°C/Вт).
Rодносл. = δ/λ — сопротивление теплопередаче стен из одного материала или отдельного слоя материала в стенах из нескольких материалов, где δ — толщина слоя материала (м), λ — коэффициент теплопроводности материала[21] (Вт/[м·°C]).
Rмногосл. = R1 + R2 + … + 0,155 + 0,058 — сопротивление теплопередаче стен из нескольких материалов, где R1 и R2 — сопротивления теплопередаче отдельных слоёв материалов, 0,155[22] — сопротивление теплопередаче у внутренней поверхности стен (Rв), 0,058[23] — сопротивление теплопередаче у наружной поверхности стен (Rн)[24].
Для помещений высотой 2,5—3 м полученное значение Q увеличивают на 10 %. Для помещений с двумя внешними углами значение Q также увеличивают на 10 %.
Формулы рассчитаны на наружную температуру −30 °C. Для других температур используются поправочные коэффициенты:
- 1,35 — при температуре −35 °C и ниже.
- 0,85 — от −10 до −20 °C.
- 0,75 — выше −10 °C.
Теплоотдача печи
Максимальная мощность печи периодического действия развивается при топке два раза в сутки. Например, теплоотдача одного квадратного метра активной поверхности (зеркала) открытостоящей (расстояние до стен помещения не менее 130 мм) дровяной толстостенной печи, при однократной и двукратной топке, составляет 330 и 550 Вт соответственно. Чтобы узнать требуемую площадь зеркала открытостоящей печи при двукратной топке, необходимо теплопотери помещения разделить на 550 Вт/м2[25]. Для южных районов, с температурой наружного воздуха +5 °C и выше, рекомендуется однократная топка[26].
Площадь зеркала существующей печи равна произведению её периметра на активную высоту. Активная высота печи примерно равна её высоте от уровня пола минус 300 мм[25]. Площадь верхней плоскости перекрыши учитывается в том случае, если высота печи не превышает 2,1 м, при этом для перекрыши вводится поправочный коэффициент 0,5[19][25].
Примечания
- ↑ Правила производства трубо-печных работ, 2006, с. 20.
- ↑ Школьник, 1991, с. 14.
- 1 2 3 4 Правила производства трубо-печных работ, 2006, с. 18—20.
- 1 2 3 4 Школьник, 1991, с. 144.
- ↑ Школьник, 1991, с. 41.
- ↑ Школьник, 1991, с. 156.
- 1 2 Правила производства трубо-печных работ, 2006, с. 65.
- 1 2 Ковалевский, 1983, с. 25—26.
- ↑ ГОСТ 2127-47 Печи отопительные теплоёмкие. Нормы проектирования. — С. 6. — 9 с.
- ↑ Мякеля К. Печи и камины : Справочное пособие / Пер. с фин. В.П. Калинина. — М.: Стройиздат, 1987. — С. 53. — 104 с.
- ↑ Школьник, 1991, с. 94—97.
- 1 2 Школьник, 1991, с. 26—27.
- ↑ Баранников М.Г. Техническая эксплуатация жилых зданий. — М.: Издательство Министерства коммунального хозяйства РСФСР, 1952. — С. 196. — 308 с.
- ↑ Школьник, 1991, с. 28.
- ↑ Ковалевский, 1983, с. 31—32.
- ↑ СП 7.13130.2013 Отопление, вентиляция и кондиционирование. Требования пожарной безопасности.
- ↑ Агаянц Л.М., Масютин В.М. и др. Жилой дом для индивидуального застройщика. — М.: Стройиздат, 1991. — С. 150, 153. — 208 с.
- ↑ Школьник, 1991, с. 123.
- 1 2 3 Типовые конструкции и детали зданий и сооружений. Серия 1.193-1 Печи бытовые отопительные. Альбом 1. Часть 1. Пояснительная записка и сметы / Государственный комитет по гражданскому строительству и архитектуре СССР. — М.: Центральный институт типовых проектов, 1970. — С. 5—10. — 121 с.
- ↑ Коломиец А.А., Буслович Л.Г. Справочник по печным работам. — Киев: Урожай, 1992. — С. 36—37. — 168 с.
- ↑ Расчетные теплотехнические показатели строительных материалов и изделий (столбец "Расчетные характеристики материалов при условиях эксплуатации конструкций А и Б", в зависимости от степени А или Б влажности материалов) // Свод правил СП 50.13330.2012 Тепловая защита зданий. Актуализированная редакция СНиП 23-02-2003 / Минрегион России. — М., 2012. — С. 82—94. — 96 с.
- ↑ 0,133 м2·час·°C/ккал ≈ 0,155 м2·°C/Вт.
- ↑ 0,05 м2·час·°C/ккал ≈ 0,058 м2·°C/Вт.
- ↑ Строительные нормы и правила. Часть II. Нормы строительного проектирования / Гос. ком. Совета Министров СССР по делам строительства. — М.: Гос. изд-во лит. по стр-ву и архитектуре, 1954. — С. 150—152. — 404 с.
- 1 2 3 Школьник, 1991, с. 8—11.
- ↑ Соснин Ю.П., Бухаркин Е.Н. Отопление и горячее водоснабжение индивидуального дома. — М.: Стройиздат, 1991. — С. 123. — 384 с.
Литература
- Школьник А.Е. Печное отопление малоэтажных зданий. — М.: Высшая школа, 1991. — 160 с.
- Ковалевский И.И. Печные работы. — М.: Высшая школа, 1983. — 208 с.
- Шепелев А.М. Кладка печей своими руками. — М.: Россельхозиздат, 1987. — 318 с.
- Правила производства трубо-печных работ / ВДПО. — М., 2006. — 168 с.