Карбюратор

Карбюра́тор (фр. Carburateur) — узел системы питания ДВС, предназначенный для приготовления горючей смеси наилучшего состава путём смешения (карбюрации, фр. carburation) паров жидкого топлива с воздухом и регулирования количества её подачи в цилиндры двигателя. Имеет широчайшее применение на различных двигателях, обеспечивающих работу самых разнообразных устройств. На массовых автомобилях с 80-х годов XX века карбюраторные системы подачи топлива вытесняются инжекторными.
Основы устройства и виды карбюраторов
Карбюраторы подразделяются на барботажные и фитильные, в данный момент не использующиеся, мембранно-игольчатые и поплавковые, составляющие подавляющее большинство всех карбюраторов.
Барботажный карбюратор представляет собой бензобак, в котором на некотором расстоянии от поверхности топлива имеется глухая доска и два широких патрубка — подающий воздух из атмосферы и отбирающий смесь в двигатель. Воздух проходил под доской над поверхностью топлива и, насыщаясь его парами, образовывал горючую смесь. При всей примитивности этот карбюратор — единственный, обеспечивавший смесь с воздухом именно паровой фракции топлива. Дроссельная заслонка стояла на двигателе отдельно. Барботажный карбюратор делал двигатель очень требовательным к фракционному составу топлива, так как испаряемость его должна была занимать весьма узкий температурный диапазон, вся конструкция была взрывоопасной, громоздкой, тяжёлой в регулировании. Топливно-воздушная смесь в длинном тракте частично конденсировалась, этот процесс зависел чаще от погоды.
Фитильный карбюратор представляет собой небольшой бак, в крышке которого расположен фитиль, верхний конец фитиля выходит во впускной тракт двигателя. Конструкция фитильного карбюратора напоминает керосиновую лампу и, в принципе, создатели ранних двигателей часто и использовали этот прибор в качестве карбюратора. Фитильный карбюратор значительно безопаснее барботажного и менее требователен к фракционному составу топлива.
Мембранно-игольчатый карбюратор представляет собой отдельный законченный узел и, как следует из названия, состоит из нескольких камер, разделённых мембранами, жёстко связанными между собою штоком, который заканчивается иглой, запирающей седло клапана подачи топлива. Камеры соединяются каналами с разными участками смесительной камеры и с топливным каналом. Вариант — связь между мембранами и клапаном неравноплечими рычагами. Характеристики таких карбюраторов определялись тарированными пружинами, на которые опирались мембраны и/или рычаги. Система рассчитана так, чтобы соотношение вакуума, давления топлива и скорости смеси обеспечивали должное соотношение топлива и воздуха. Достоинство такого карбюратора — наряду с простотой — способность работать буквально в любом положении по отношению к направлению силы тяжести. Недостатки — относительная сложность регулировки, некоторая нестабильность характеристики (из-за пружины), чувствительность к ускорениям, перпендикулярным мембранам, неширокий диапазон количества смеси на выходе, медленные переходы между установившимися режимами. Такие карбюраторы используются на двигателях, по условиям работы не имеющих определённого пространственного положения (двигатели бензорезов, газонокосилок, поршневых самолётов, например, карбюраторы АК-82БП стояли на ЛА-5), или просто на дешёвых конструкциях. Именно такой карбюратор стоит как вспомогательный на газобаллонном автомобиле ЗИЛ-138.
Наконец, поплавковый карбюратор, разнообразный в своих многочисленных модификациях, составляет подавляющее большинство современных карбюраторов и состоит из поплавковой камеры, обеспечивающей стабильный приток топлива, смесительной камеры, фактически представляющей трубку Вентури, и многочисленных дозирующих систем, состоящих из топливных и воздушных каналов, дозирующих элементов — жиклёров, клапанов и актюаторов. Поплавковые карбюраторы при прочих равных условиях обеспечивают самые стабильные параметры смеси на выходе и обладают самыми высокими эксплуатационными качествами. Поэтому они и получили столь широкое распространение.
Принцип работы поплавкового карбюратора с постоянным сечением диффузора

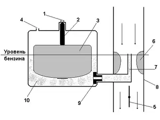
Простейший карбюратор состоит из двух функциональных элементов: поплавковой камеры (10) и смесительной камеры (8).
Топливо по трубке (1) поступает в поплавковую камеру (10), в которой плавает поплавок (3), на который опирается запорная игла (2) поплавкового клапана. При расходовании топлива его уровень в поплавковой камере понижается, поплавок опускается, игла открывает подачу топлива, при достижении заданного уровня клапан закрывается. Таким образом, поплавковый клапан поддерживает постоянный уровень топлива. Благодаря балансировочному отверстию (4) в поплавковой камере поддерживается атмосферное давление. В практически выпускаемых карбюраторах, работающих с воздушными фильтрами, вместо этого отверстия используется балансировочный канал поплавковой камеры, ведущий не в атмосферу, а в полость воздушного фильтра или в верхнюю часть смесительной камеры. В этом случае дросселирующее влияние фильтра сказывается равномерно на всей газодинамике карбюратора, который становится балансированным.
Из поплавковой камеры топливо поступает через жиклёр (9) в распылитель (7). Количество топлива, подающегося из распылителя (7), по закону Бернулли зависит при прочих равных условиях от проходного сечения жиклёра и степени вакуума в диффузоре, а также от сечения диффузора. Соотношение сечений диффузора и главного топливного жиклёра является одним из основополагающих параметров карбюратора.
При впуске давление в цилиндрах двигателя понижается. Наружный воздух засасывается в цилиндр, проходя через смесительную камеру (8) карбюратора, в которой находится диффузор (трубка Вентури) (6), и впускной трубопровод, распределяющий готовую смесь по цилиндрам. Распылитель помещается в самой узкой части диффузора, где, по закону Бернулли, скорость потока достигает максимума, а давление уменьшается до минимума.
Под влиянием разности давлений происходит истечение топлива из распылителя. Топливо, вытекающее из распылителя, дробится в струе воздуха, распыляется, частично испаряясь и, перемешиваясь с воздухом, образует горючую смесь. В реальных карбюраторах используется построение топливоподающей системы, при котором в распылитель подаётся не гомогенное жидкое топливо, а эмульсия из топлива и воздуха. Такие карбюраторы называют эмульсионными. Как правило, вместо одиночного диффузора используется двойной. Дополнительный диффузор имеет небольшие размеры и расположен в главном диффузоре концентрически. Через него проходит только часть общего потока воздуха. Вследствие высокой скорости в центральной части при небольшом сопротивлении основному потоку воздуха достигается более качественное распыление. Количество смеси, поступающей в цилиндры, следовательно, и мощность двигателя, регулируются дроссельной заслонкой (5), у многих карбюраторов, особенно горизонтальных, вместо поворотной заслонки используется шибер — золотник.
Недостатком карбюратора с постоянным сечением диффузора является противоречие между необходимостью, с одной стороны, увеличивать проходное сечение диффузора для снижения газодинамических потерь на входе в двигатель и, с другой стороны, необходимостью уменьшать проходное сечение диффузора для обеспечения качества распыления топлива с его последующим испарением. Этот парадокс технически обойдён в карбюраторах с постоянным разрежением (Stromberg, SU, Mikuni) и с переменным сечением диффузора. Отчасти эту проблему решает введение дополнительной смесительной камеры с последовательным открытием дросселей, тогда суммарное сечение диффузоров оказывается ступенчато изменяемым. В послевоенные годы в СССР широко использовались карбюраторы с двухступенчатым регулированием воздуха с параллельным дополнительным диффузором в одной смесительной камере — семейство К-22.
Поплавковая камера
В зависимости от способа вентиляции поплавковой камеры она может быть балансированной и небалансированной. У небалансированной камеры пространство над топливом соединяется непосредственно с атмосферой, у балансированной сообщается через балансировочный канал с пространством между выходом воздушного фильтра и верхней частью смесительной камеры, над воздушной заслонкой. Таким образом, при наличии балансировки на работу карбюратора оказывают меньшее влияние сторонние факторы, такие, как температура воздуха и состояние и сопротивление воздушного фильтра. Балансированный карбюратор может иметь систему стояночной разбалансировки поплавковой камеры, которая представлена механическим или электрическим клапаном, сообщающим её полость во время стоянки с атмосферой. В этом случае существенно облегчается пуск горячего двигателя, так как переобогащённый парами топлива воздух не накапливается в карбюраторе. С целью улавливания этих паров и из экологических соображений в поздних конструкциях вводится ещё газопоглотитель — ёмкость со вкладышем из активированного угля. При отключении от поплавковой камеры после пуска двигателя его полость соединяется с системой вентиляции картера и поглощённые пары бензина сжигаются двигателем в составе рабочей смеси.
Уровень топлива в поплавковой камере — одна из важнейших констант карбюратора. От него зависит устойчивая работа системы холостого хода и переходных систем всех камер, то есть, работа двигателя на малых оборотах непосредственно. Но, так как регулировка системы холостого хода фактически закладывает правильную компенсацию состава главной дозирующей системы, то косвенно от стабильности уровня зависит работа на всех режимах.
Позиция уровня топлива в камере закладывается конструктором так, чтобы при любых отклонениях карбюратора от вертикали не происходило самопроизвольного истечения топлива из распылителей в смесительную камеру.
Особенность компоновки современных карбюраторов в том, что на расположенных поперечно двигателях возникает необходимость компенсировать приливно-отливные явления в поплавковой камере при движении на поворотах. С целью такой компенсации в простейших случаях создаются дополнительные экономайзеры (ДААЗ-1111). В более дорогих карбюраторах используются спараллеленные поплавковые камеры, расположенные по бокам карбюратора и соединённые либо поперечным каналом (ДААЗ-2108), либо отдельной сообщающей полостью, из которой запитаны жиклёры. Поплавковых клапанов в этом случае может быть два («Пирбург-2ВЕ»), расположенных в крайних точках по бокам.
Поплавок/поплавки могут быть полыми (ДААЗ), как правило, они выполняются паяными из штампованных латунных половинок, либо изготовленными из пористой пластмассы (К-88).
Для компенсации воздействия вибраций двигателя на уровень топлива поплавковые клапаны демпфируются либо введением демпферной пружины со штоком или шариком, либо наличием упругого упорного или запорного элемента (ПЕКАР).
В ряде карбюраторов поплавковый клапан расположен в дне камеры. В этих случаях компоновка позволяет, сняв крышку карбюратора, непосредственно отслеживать уровень топлива. С этой же целью во многих моделях карбюраторов использовались смотровые окна, расположенные в боковой или передней стенке поплавковой камеры и позволяющие видеть уровень непосредственно в процессе работы двигателя.
Основные дозирующие системы
Двигатель в процессе эксплуатации работает в разных режимах, требующих смеси разного состава, часто с резким изменением содержания фракции паров топлива. Для приготовления смеси состава, оптимального при любом режиме работы двигателя, карбюратор с постоянным сечением распылителя имеет разнообразные дозирующие устройства. Они вступают в работу или выключаются из работы в разное время или работают одновременно, обеспечивая наиболее выгодный (в отношении получения наибольшей мощности и экономичности) состав смеси на всех режимах двигателя.
- Главная дозирующая система (ГДС) современного карбюратора, как правило, имеет пневматическую компенсацию состава смеси. Такая система имеет один главный топливный жиклёр и один воздушный жиклёр, выходящие в эмульсионный колодец, расположенный вертикально или наклонно (карбюраторы Zennith и их модификации). Воздух поступает из ГВЖ в эмульсионную трубку, имеющую вертикальные ряды отверстий. Образующаяся между стенками колодца и трубкой топливовоздушная первичная эмульсия поступает по каналу к распылителю, расположенному в смесительной камере. ГТЖ расположен снизу, поэтому уровень топлива при расходовании эмульсии в распылителе стремится подняться за счёт притока из поплавковой камеры. Однако его поступление ограничено ГТЖ. С другой стороны, чем ниже уровень топлива в эмульсионном колодце, тем больше воздуха поступает в эмульсию из отверстий в трубке, тем больше его в смеси и тем больше степень компенсации. Возможен вариант, когда и топливо, и воздух подаются внутрь эмульсионной трубки (К-131).
Ранее существовали ГДС со спараллелеными жиклёрами и последовательными коаксиальными диффузорами (К-22), в которых компенсация обеспечивалась, главным образом, системой холостого хода и за счёт упругости пластин, открывающих поток воздуха в отдельном большом диффузоре, бензин при этом подавался из параллельного главному компенсационного жиклёра. В относительно простеньких карбюраторах малолитражек использовалась ГДС с компенсационным колодцем и ограничительным компенсационным жиклёром. Ввиду неглубокой компенсации и относительно небольшого количества подаваемого топлива, то есть негибкости в эксплуатации, карбюраторы с такими системами перестали выпускаться к середине 60-х годов XX века.
ГДС современного карбюратора с эмульсионным колодцем и пневмокомпенсацией обеспечивает гибкость состава смеси от 1:14 до 1:17 весовых частей бензина : воздуха. На основных режимах ГДС обеспечивает смесь экономичного или обеднённого состава — 1:16—1:16,5.
- В карбюраторах с электронным управлением, например Rochester Quadrajet E-серии, управление дозирующими элементами (как правило — иглами с фасонным профилем, изменяющими проходное сечение жиклёра, или актюаторами, обеспечивающими поступление топлива небольшими более или менее частыми порциями) осуществляется при помощи соленоидов, контролируемых ЭБУ, при сохранении общего принципа действия карбюратора. Такие карбюраторы не следует путать с одноточечным впрыском (моноинжектор), который, в отличие от них, работает по тому же принципу, что и многоточечный впрыск. Он имели ограниченное применение на самом излёте эпохи карбюраторных автомобильных двигателей, в середине 80-х — начале 90-х годов, преимущественно в США; появление их было связано с ужесточением экологических нормативов, так как вписаться в них позволяла только точная дозировка количества воздуха и топлива, осуществляемая ЭБУ с обратной связью на основе информации, получаемой от установленных на двигателе датчиков. В эксплуатации такие карбюраторы зачастую вызывали нарекания и были быстро вытеснены системами впрыска топлива. В более простом случае, с той же целью в паре с обычным карбюратором используется электронно-управляемая система дополнительной подачи воздуха, корректирующая состав рабочей смеси в зависимости от показаний кислородного датчика (лямбда-зонда) за счёт дозированного подмешивания к ней дополнительного количества воздуха — в частности, такое решение применялось на восьмицилиндровых двигателях автобусов ПАЗ экологических стандартов «Евро-2» и выше (ЗМЗ-5234 и т. п.).[1]
Совершенно особую конструкцию имеет ГДС горизонтального карбюратора с игольным регулированием. В этой системе одновременно механически изменяется количество воздуха, проходящего через диффузор — за счёт подъёма шибера, и количество подаваемого в него же топлива — за счёт иглы переменного профиля, проходящей через жиклёр и механически изменяющей его проходное сечение. Характеристическая кривая такого карбюратора обеспечивается механически жёстко заданным соотношением сечения диффузора и сечения жиклёра, которые зависят только от высоты подъёма шибера. В карбюраторах постоянного разрежения этот уровень в каждый момент времени обеспечивается автоматически за счёт действия демпфирующей системы золотника и разрежения в зоне дроссельной заслонки, определяемого нагрузкой двигателя и углом поворота дросселя.
- Система холостого хода (СХХ) с переходной системой и система вентиляции картера— помимо обеспечения работы на режимах с невысоким вакуумом, которого недостаточно для включения в работу ГДС, на всех остальных режимах обеспечивает компенсацию состава смеси в ГДС.
Так как при работе на холостом ходу над дросселем не имеется разрежения, необходимого для включения в работу главной дозирующей системы, для обеспечения режимов с неглубоким вакуумом и малыми углами открытия дросселя требуется отдельная система, способная обеспечивать смесеобразование при малых расходах воздуха в смесительной камере. Она может быть параллельной (используется очень редко), последовательной, иметь разные типы распыливания — дроссельное, задроссельное, может быть автономной (АСХХ).
Последовательная СХХ представляет собою воздушный, топливный и эмульсионный каналы с дозирующими элементами — жиклёрами холостого хода или актюаторами. Топливный жиклёр холостого хода запитывается из нижней части эмульсионного колодца ГДС, таким образом он оказывается включён в топливный канал ГДС последовательно. Воздушный жиклёр ХХ соединён с пространством верхней части смесительной камеры, что обеспечивает изменение количества воздуха, поступающего в СХХ при разных режимах работы двигателя. Ввиду указанных выше особенностей, СХХ является очень важным звеном компенсации смеси для ГДС. Очень часто воздух подаётся в СХХ по двум или по трём каналам, что обеспечивает двух- или трёхступенчатое эмульгирование, способствующее дополнительной гомогенизации смеси и улучшению равномерности состава смеси по цилиндрам. СХХ открывается в смесительную камеру в задроссельном пространстве, где на холостых оборотах имеется вакуум достаточной для её работы степени. В канал СХХ открываются переходные отверстия, расположенные в зоне кромки приоткрытой дроссельной заслонки. К-88 и ДААЗ-2108 вообще имеют одно вертикальное щелевидное отверстие, часть его, расположенная ниже кромки дросселя, обеспечивает холостой ход, при открывании дросселя эта часть естественно увеличивается, обеспечивая переходный режим.
Дроссельная заслонка на холостом ходу почти закрыта, разрежение в карбюраторе имеется только сразу за ней. За счёт этого разрежения в отверстие холостого хода из главной дозирующей системы через топливный жиклёр холостого хода подаётся топливо, смешанное с воздухом, поступающим из воздушного жиклёра холостого хода и дополнительных воздушных каналов. При этом образуется обогащённая смесь, необходимая для поддержания холостых оборотов двигателя, с соотношением «бензин — воздух» в пределах от 1:12 до 1:14,5.
На переходном режиме, то есть при небольших углах открытия дроссельной заслонки, эмульсия из каналов СХХ поступает в зону кромки дроссельной заслонки через одно или несколько переходных отверстий, смешиваясь с проходящим воздухом и обедняясь до 1:15—1:16,5.
Как уже указывалось, некоторые карбюраторы (К-88, К-90, ДААЗ-2108) имеют в зоне кромки дросселя одно вертикальное щелевидное отверстие. Такое построение обеспечивает эффективную компенсацию и плавное изменение состава смеси на переходном режиме. Задавая форму щели, можно добиться практически идеальной переходной характеристики.
На остальных режимах работы двигателя система холостого хода компенсирует состав смеси, образуемой главной дозирующей системой и поэтому является чрезвычайно важной для правильной работы карбюратора. Известны случаи, когда после неквалифицированной регулировки СХХ при сохранении оборотов холостого хода карбюратор практически терял работоспособность.
Для обеспечения равномерности состава смеси по цилиндрам и стабильности параметров и смесеобразования, и момента зажигания СХХ часто выполняется автономной, с дополнительными смесительными устройствами, фактически представляющими собой карбюратор в карбюраторе, работоспособный при малых расходах воздуха (например, АСХХ «Каскад»). Такая система имеет основной канал, входное отверстие которого расположено в зоне опускающейся кромки дроссельной заслонки, а устье выходит в зону под дросселем. За счёт такого расположения движение воздуха и смеси в канале прекращается при открытии дросселя моментально. В этот канал выводится на холостом ходу вся эмульсия, образовавшаяся в СХХ, однако для качественного распыливания смешивание её с воздухом осуществляется в специальных распылителях, обеспечивающих при небольших расходах воздуха и эмульсии очень высокие скорости движения — на уровне скорости звука. За счёт этого АСХХ обеспечивает качество распыливания, недостижимое для других систем холостого хода. В более качественных карбюраторах используются АСХХ с тройным, а иногда и четырёхкратным эмульгированием.
Распылители АСХХ строятся по различным схемам. Простейшая из них — СХХ карбюратора ДААЗ-2140. В нём поток воздуха проходит через небольшую горизонтальную щель, в которую сверху открывается ещё одна щель — из эмульсионного канала. Соотношение сечений обеспечивает скорости газов на уровне скорости звука. АСХХ «Каскад» имеет кольцевидный распылитель с радиально расположенными отверстиями, из которых в поток воздуха поступает эмульсия — такая система фактически копирует в миниатюре смесительную камеру. В центре распылителя имеется винт специального профиля, обеспечивающий регулировку количества смеси. В СХХ с сопловидными распылителями в центр канала, по которому движется эмульсия, подаётся из винта с каналом воздух, то есть такая система — как бы «Каскад» наоборот.
Для перекрытия подачи топлива на принудительном холостом ходу в СХХ включается экономайзер принудительного холостого хода (ЭПХХ), представляющий собою клапан, отключающий подачу топлива, и систему управления этим клапаном, либо электронную, либо электронно-пневматическую (Тюфяков). При переходе двигателя в режим ПХХ происходит подача управляющего сигнала на исполнительный клапан. На более современных двигателях, имеющих микропроцессорную систему управления, этот сигнал формируется этой системой (АЗЛК-21412). Клапан может быть расположен либо непосредственно в выходном отверстии АСХХ, и полностью перекрывать подачу смеси, либо иметь иглу, отсекающую подачу топлива через жиклёр. Во втором случае возрастает инерционность системы, при выходе из режима ПХХ имеется короткий неустановившийся период, когда СХХ уже работает, а топливо по длинному каналу от жиклёра ещё не поступило. Но такая система проще в построении и дешевле, менее подвержена неблагоприятным воздействиям в эксплуатации. Именно такая система ПХХ используется на ДААЗ-2108. Системы с клапаном в устье используются на ДААЗ-2107, −05 и 2140. Они обеспечивают практически мгновенную смену режимов, но сложнее, дороже и требовательнее в эксплуатации настолько, что многие владельцы автомобилей с такими системами их просто отключали.
Своеобразно построен ЭПХХ на К-90. Там каналы холостого хода обеих камер заканчиваются довольно большими полостями, в которых расположены тарелки электромагнитных клапанов, при подаче напряжения на которые происходит отключение подачи смеси, то есть, при выходе ЭПХХ из строя карбюратор продолжает работать в обычном режиме.
СХХ карбюраторов, установленных на двигателях, приводящих компрессоры кондиционеров, мощные генераторы и/или нагруженных АКПП, часто оснащаются управляемым упором дроссельной заслонки, который стабилизирует обороты холостого хода при включении сервисных устройств, приподнимая дроссель при подключении нагрузки от дополнительных агрегатов.
Переходная система вторичной камеры карбюратора с последовательным открытием дросселей, в основном, аналогична СХХ, но имеет важные отличия. Так как ГДС вторичной камеры сама по себе настраивается на получение относительно обогащённой мощностной смеси, ей не требуется столь глубокая степень компенсации, как в первичной камере. Поэтому переходная система, как правило, выполняется по схеме параллельной запитки топливом и её топливный жиклёр сообщается непосредственно с поплавковой камерой, а не с эмульсионным колодцем ГДС. Таким образом, включение в работу и переходной системы, и ГДС вторичной камеры происходит параллельно, чем обеспечивается необходимая степень обогащения смеси.
Любой современный двигатель обеспечивает утилизацию горючих и чрезвычайно токсичных картерных газов. Система отсоса картерных газов, она же система вентиляции картера, состоит из двух ветвей — большой и малой. Большая ветвь представляет собою трубу, в которой имеется пламегаситель и маслоотделитель. Газы, прошедшие через них, поступают в воздушный фильтр инерционно-масляного типа до масляной ванны либо в картонный воздушный фильтр в непосредственной близости от горловины первичной камеры, смешиваются там с воздухом и подаются в цилиндры. На холостом ходу и переходном режиме разрежение над камерой достаточно невелико, поэтому параллельно большой ветви используется малая. Это трубка, соединяющая большую ветвь с задроссельным пространством; во многих карбюраторах она снабжается золотником, отсекающим сообщение задроссельного пространства с большой ветвью при открытии дросселя и предотвращающим, таким образом, подсасывание под дроссель воздуха параллельно смесительной камере.
- Экономайзеры и эконостаты — дополнительные параллельные системы подачи топлива в смесительную камеру, обогащающие смесь при высоких уровнях вакуума, то есть при нагрузках, близких к максимальным, когда экономическая смесь не может обеспечить потребностей двигателя. Экономайзеры имеют принудительное управление, пневматическое или механическое. Эконостаты, по сути дела, просто трубки определённого сечения, иногда с эмульсионными каналами (ДААЗ), выведенные в пространство смесительной камеры выше диффузора, то есть в зону, где вакуум появляется при максимальных нагрузках, в отличие от ГДС. В некоторых старых конструкциях карбюраторов без эмульгирования топлива экономайзер имел жиклёр, параллельный главному топливному жиклёру ГДС, открываемый принудительно. В эмульсионных карбюраторах такая схема не используется ввиду нарушения характеристики пневмокомпенсации ГДС.
В относительно дешёвых карбюраторах, в которых ГДС сама по себе обеспечивает относительно богатый состав смеси на большинстве режимов, экономайзеры и эконостаты не используются.
- Система рециркуляции отработанных газов (СРОГ, EGR). Обеспечивает замещение части воздуха выхлопными газами на режимах торможения двигателем. Способствует снижению уровня окислов азота (NО) и оксида углерода (CO) в выхлопе ценой некоторого снижения характеристик мотора, в некоторых случаях может выполнять и другие функции. В настоящее время в большинстве стран является обязательной к применению на автомобильных двигателях.
- Насос-ускоритель (он же ускорительный насос). Необходим для подачи дополнительной порции топлива при резком открытии дросселя. Необходимость подачи дополнительного количества топлива определяется отнюдь не его «инерционностью» в каналах карбюратора при резком разгоне, как это обычно указывается в популярных изданиях, а нарушением в этот момент условий смесеобразования во впускной системе, в результате чего до цилиндров в первые моменты после начала резкого разгона доходит только часть поданного карбюратором топлива. Ускорительный насос компенсирует этот эффект и обеспечивает требуемый состав горючей смеси в цилиндрах в первый же момент после начала разгона. Бывают поршневые и диафрагменные, устанавливаемые на все карбюраторы с начала 70-х годов XX века. Поршневые ускорители имеют менее стабильные параметры и не позволяют изменять интенсивность впрыска в зависимости от угла поворота дросселя.
Карбюраторы, способные обеспечить поступление смеси оптимального состава на всех режимах, то есть карбюраторы с игольным регулированием состава и карбюраторы постоянного разрежения ускорителя не имеют — за ненадобностью.
- Пусковое устройство. Как правило, представляет собой заслонку над смесительной камерой с системой управления ею. При её прикрытии существенно возрастает степень вакуума во всей смесительной камере, что приводит к резкому обогащению смеси, необходимому для холодного пуска. (Того же эффекта можно достичь, забывая вовремя менять картонный элемент в воздушном фильтре). Чтобы поток воздуха не перекрывался полностью, заслонка либо опирается на пружину и располагается эксцентрично, либо снабжается клапаном, обеспечивающим минимальное поступление воздуха. Для пуска и прогрева двигателя необходимо прикрыть воздушную заслонку и приоткрыть дроссельную. Воздушная заслонка может иметь механический, автоматический или полуавтоматический привод. В первом случае её закрывает водитель при помощи рукоятки, называемой манеткой.
Полуавтоматический привод воздушной заслонки распространён наиболее широко как простой и эффективный. Заслонка закрывается водителем вручную, а приоткрывается автоматически диафрагмой, работающей от возникающего при первых тактах впуска разрежения во впускном коллекторе. Это предотвращает переобогащение смеси и возможную остановку двигателя сразу после пуска. Такое пусковое устройство имеют все карбюраторы ДААЗа и К-151.
Автоматический привод широко применяется за границей, а в практике отечественного автопрома распространения не получил ввиду существенной сложности, относительно низкой надёжности и недолговечности при характерных для климата большей части территории СССР/России больших перепадах температур. В этом случае воздушную заслонку закрывает биметаллический или церезиновый термоэлемент, обогреваемый жидкостью из системы охлаждения, горячим воздухом или электрическим нагревателем. По мере прогрева двигателя термоэлемент нагревается, открывая воздушную заслонку. На отечественных автомобилях такое пусковое устройство имели только карбюраторы отдельных моделей ВАЗ (в основном, экспортных). В иных системах использовался пневматический (вакуумный), либо электромеханический привод с датчиком температуры.
Регулировки
Регулировка карбюратора обеспечивается на стадии проектирования и отработки экспериментальных образцов и обеспечивается, в основном, следующими конструктивными особенностями:
- тип главной дозирующей системы (ГДС), способ её компенсации, способ запитывания СХХ и переходной системы/систем;
- число, диаметр и расположение переходных отверстий;
- сечения малого диффузора, главного топливного жиклёра ГДС, главного воздушного жиклёра ГДС, форма эмульсионной трубки/трубок;
- соотношение геометрических параметров смесительных камер и характеристика открытия вторичной камеры;
- объём впрыска насоса-ускорителя, направление его струи;
- разрежение открытия пневматических экономайзеров или угол открытия механического экономайзера;
- конкретное место расположения сопла эконостата;
- уровень топлива в поплавковой камере — основополагающий параметр для правильной работы на холостом ходу и, что важнее, на переходном режиме. На работу в других режимах влияет намного меньше, чем принято считать. Задаётся конструктором так, чтобы при максимальном наклоне карбюратора в эксплуатации (езда в гору) топливо не вытекало из распылителей самостоятельно.
Доступные регулировки карбюратора в эксплуатации направлены на индивидуальную подгонку конкретного экземпляра карбюратора к конкретному двигателю и обеспечение его сезонной регулировки, а также на восстановление исходных технических параметров — уровня топлива, позиций заслонок, оборотов холостого хода. Последняя регулировка чрезвычайно важна, так как система холостого хода обеспечивает глубокую степень компенсации ГДС первичной камеры и, стало быть, задаёт её характеристику (а не только и не столько уровень холостых оборотов. Можно, слегка покрутив винты и изменив их позиции, прийти к тем же оборотам холостого хода и сделать карбюратор практически неработоспособным).
Органы регулировки СХХ первичной камеры:
- Винт токсичности — в эмульсионных карбюраторах и эмульсионных СХХ с двойной подачей воздуха обеспечивает качество первичной эмульсии СХХ, чаще за счёт изменения количества первичного воздуха. Обеспечивает стабильность переходного режима и компенсацию ГДС. В карбюраторах ДААЗ (2101—2107) должен быть в норме отвёрнут от упора на ½ — ¼ оборота, на заводе зачеканивается заглушкой. На карбюраторах семейства «Солекс» роль винта токсичности играет упорный винт дроссельной заслонки вторичной камеры. После сборки карбюратора без стенда для регулировки расхода воздуха через закрытую заслонку должен быть отвёрнут на 2/3 — 3/4 оборота от начала подъёма заслонки.
- Винт качества — обеспечивает качество вторичной эмульсии, непосредственно поступающей в цилиндры на режимах холостого хода и переходном, как правило за счёт изменения количества эмульсии. Наряду с винтом токсичности задаёт степень компенсации ГДС.
- Винт количества — задаёт число оборотов холостого хода, выставляется при отрегулированном составе смеси, на параметры карбюратора в целом влияет несущественно. В АСХХ изменяет количество подаваемой смеси за счёт изменения сечение эмульсионного канала. При совмещённой СХХ, как в простейшем карбюраторе, изменяет позицию дроссельной заслонки первичной, иногда вторичной (системы со щелевым распылением) камеры, приоткрывая её.
Классификация
По наличию регулирования сечения распылителя
По способу регулирования сечения распылителя и, соответственно, разрежения у распылителя выделяют карбюраторы:
- С постоянным разрежением — SU, Stromberg в Европе и Keihin, Mikuni в Японии — при наличии, фактически, единственной дозирующей системы обеспечивают не только все потребности двигателей на всех режимах, но способны выдавать смесь с содержанием паровой фракции топлива не менее 90-97 % — параметр, практически недостижимый для других топливных систем, считая и любые впрысковые. Обеспечивается максимально высоким уровнем вакуума у распылителя при любом расходе воздуха.
- С постоянным сечением распылителя. К этому типу относятся ВСЕ серийно выпускаемые в СССР и России автомобильные карбюраторы. Для обеспечения некоторой гибкости строятся карбюраторы с последовательным открытием смесительных камер или дополнительного диффузора (К-22).
- Промежуточное положение занимают горизонтальные карбюраторы с золотниковым дросселированием, часто применяемые на мотоциклах. В них количество подаваемой смеси регулируется вертикальным шибером/золотником, изменяющим проходное сечение диффузора. Одновременно специальная профилированная игла изменяет проходное сечение главного топливного жиклёра, что так же, как у карбюратора с постоянным разрежением, существенно упрощает конструкцию узла.
По направлению потока рабочей смеси
По направлению потока рабочей смеси карбюраторы делятся на горизонтальные и вертикальные. Вертикальный карбюратор, в котором поток смеси движется снизу вверх, называется карбюратором с восходящим потоком, сверху вниз — с нисходящим, или падающим потоком. При горизонтальном направлении потока — с горизонтальным потоком.
Наибольшее распространение в исторической перспективе получили карбюраторы с нисходящим и с горизонтальным потоком. Их основные преимущества состоят в лучшем наполнении цилиндров горючей смесью с существенно меньшими газодинамическими потерями по сравнению с карбюраторами с восходящим потоком, а также в доступности и удобстве обслуживания, так как расположен такой карбюратор на двигателе сверху или сбоку.
По количеству камер


По количеству смесительных камер различают однокамерные и многокамерные карбюраторы. В первых имеется только одна смесительная камера и, соответственно, только одна дроссельная заслонка, управляющая подачей топлива во всём рабочем диапазоне двигателя. Такие карбюраторы отличались большой простотой устройства и исключительно широко применялись на автотранспорте до 1960-х годов. Между тем, развитие двигателестроения, а также рост требований к динамическим качествам автомобилей, в особенности легковых, и приспособляемости их двигателей к различным нагрузкам предопределили практически повсеместный переход к карбюраторам, имеющим более одной смесительной камеры. Дело в том, что повышение числа рабочих оборотов двигателей значительно увеличило требования к пропускной способности воздушного тракта карбюратора, удовлетворить которые путём одного только увеличения сечения канала единственной смесительной камеры оказалось невозможно: при открытии дроссельной заслонки большого диаметра происходит резкое падение разрежения и скорости движения воздуха в районе распылителя главной дозирующей системы, что приводит к снижению качества распыления топлива при низкой частоте вращения коленчатого вала и, соответственно, ухудшению тяговых качеств двигателя и неустранимому регулировкой «провалу» в начале разгона. Бороться с этим эффектом пытались за счёт использования на однокамерном карбюраторе главного диффузора с переменным сечением (семейство карбюраторов К-80 для двигателей автомобилей ЗИС/ЗИЛ, у которого главный диффузор был образован подпружиненными крыльями, имеющими механический привод от педали «газа») или лепестковым перепускным воздушным клапаном (семейство К-22 для двигателей автомобилей «Победа», ГАЗ-51), в результате чего пропускная способность карбюратора повышалась по мере роста оборотов коленчатого вала двигателя. Однако эффективность данных устройств была сравнительно невысока, при значительном повышении сложности конструкции карбюратора.[2][3][4]
Карбюратор с числом смесительных камер более одной может иметь как одновременное, так и последовательное открытие дроссельных заслонок, в зависимости от потребностей системы питания конкретного двигателя.[4]
Карбюраторы с двумя смесительными камерами и одновременным открытием дроссельных заслонок весьма успешно работают на сравнительно тихоходных многоцилиндровых двигателях, у которых половина цилиндров получает топливовоздушную смесь от одной камеры карбюратора, а остальные — от другой, что достигается за счёт разделения впускного коллектора перегородкой на две не сообщающиеся между собой ветви, каждая из которых соединяет одну из камер карбюратора с соответствующей группой цилиндров. Так как сечение диффузоров каждой из камер в отдельности оказывается сравнительно невелико, проблемы резкого падения разрежения и скорости потока при открытии дроссельной заслонки в таком случае не наблюдается, при сохранении необходимой общей пропускной способности карбюратора. К примеру, у 3,5-литрового шестицилиндрового двигателя автомобиля ГАЗ-52 I, II и III цилиндры получают смесь от передней по ходу движения камеры карбюратора модели К-126И, а IV, V и VI — от задней. Дроссельные заслонки посажены на общую ось, обеспечивающую синхронность их открытия. Сам карбюратор по сути представляет собой два собранных в общем корпусе одинаковых по своим параметрам однокамерных карбюратора, имеющих общие поплавковую камеру, пусковое устройство и ускорительный насос (работающий на обе камеры одновременно) — все остальные системы в них продублированы, настройка состава («качества») смеси для каждой из камер также производится отдельно, своим регулировочным винтом. Аналогичные карбюраторы применяются также на относительно низкооборотных V-образных моторах, например К-126Б и К-135 на грузовых V8 производства ЗМЗ; при этом как правило карбюратор устанавливается поперечно относительно двигателя, так, что одна из его смесительных камер поставляет рабочую смесь в цилиндры, расположенные слева по ходу автомобиля, а вторая — в расположенные справа. В некоторых вариантах конструктивного исполнения каждая из смесительных камер двухкамерного карбюратора с одновременным открытием дроссельных заслонок может иметь свою поплавковую камеру (например, К-21 для двигателей легкового автомобиля ЗИМ ГАЗ-12 и автобуса ПАЗ-652, имевший две поплавковые камеры с двумя работающими независимо друг от друга поплавками и запорными клапанами, два отдельных экономайзера шарикового типа с механическим приводом, но при этом — общие для обеих секций экономайзер с пневматическим приводом и ускорительный насос, а также воздушную заслонку).[4]
Иногда двухкамерные карбюраторы с одновременным открытием дроссельных заслонок применялись и на двигателях с меньшим числом цилиндров, у которых рабочая смесь из обеих смесительных камер через общий впускной коллектор подавалась во все цилиндры — например, карбюратор типа К-126, устанавливавшийся на ранних выпусках «Москвича-408». Однако вследствие уже описанной выше проблемы резкого падения разрежения на впуске, происходившего при одновременном открытии обеих дроссельных заслонок, работа двигателя на низких оборотах и частичных нагрузках с этим карбюратором оказалась неудовлетворительна, вследствие чего с 1965 года он был заменён на также двухкамерный К-126П с последовательным открытием дроссельных заслонок.
Карбюраторы такого типа очень широко использовались на автомобильных двигателях малого и среднего литража в 1960-х — 1980-х годах. Как правило, диаметр главного диффузора первичной камеры у них меньше, чем главного диффузора вторичной — хотя встречаются и конструкции с их одинаковым диаметром (например, «волговский» К-126Г: 24×24 мм); дроссельные заслонки также могут быть как одинакового, так и различного диаметра. На холостом ходу и режимах малых и средних нагрузок такие карбюраторы работают на одной лишь первичной камере, фактически — как однокамерный карбюратор, а в дальнейшем специальное устройство приоткрывает дроссельную заслонку вторичной камеры. Этим достигается, с одной стороны, поддержание высокого разрежения и большой скорости движения воздуха у распылителя главной дозирующей системы, что необходимо для качественного распыления топлива при низких частотах вращения коленчатого вала, а с другой — низкое аэродинамическое сопротивление на впуске при высоких оборотах.[2][5]
Привод дроссельной заслонки вторичной камеры двухкамерного карбюратора с последовательным открытием заслонок может быть механическим или пневматическим (вакуумным). В первом случае дроссельная заслонка вторичной камеры имеет привод непосредственно от педали «газа» и начинает открываться каждый раз, когда дроссельная заслонка первичной камеры оказывается повёрнута на определённый угол, жёстко заданный конструкцией механического привода. Так как момент начала открывания дроссельной заслонки вторичной камеры при этом никак не увязан с величиной оборотов коленчатого вала и нагрузкой на двигатель, в некоторых режимах это может приводить к нарушениям в его работе — например, резкое нажатие на педаль акселератора до упора при движении автомобиля с невысокой скоростью на высшей передаче при такой конструкции привода дроссельных заслонок приведёт, вместо ожидаемого водителем энергичного разгона, к ощутимому «провалу» тяги из-за быстрого и внезапного уменьшения разрежения во впускном тракте. Для обеспечения уверенного ускорения с низких оборотов водителю в начале разгона приходилось задерживать педаль «газа» в положении, предшествующем моменту начала открытия вторичной камеры, и лишь затем, по мере набора скорости, выжимать её до упора. Это требовало от водителя дисциплины и умения «чувствовать» момент начала открытия заслонки вторичной камеры по изменению усилия на педали. Устранить этот недостаток позволяет использование пневматического (вакуумного) привода дроссельной заслонки вторичной камеры, осуществляемого автоматически в зависимости от нагрузки на двигатель, отслеживаемой по величине разрежения в диффузоре первичной камеры карбюратора. Жёсткая связь заслонки вторичной камеры с педалью акселератора при этом отсутствует — отклонение педали на определённый угол лишь снимает блокировку, мешающую вакуумному приводу начать открывание заслонки вторичной камеры. В описанной выше ситуации дроссельная заслонка вторичной камеры с пневмоприводом даже при выжатой водителем до упора педали «газа» останется закрытой до того момента, когда двигатель автомобиля наберёт определённое число оборотов и разрежение в диффузоре первичной камеры карбюратора превысит некое пороговое значение. Падение разрежения в районе распылителя главного диффузора при этом происходит менее резко, чем при одновременном открытии обеих дроссельных заслонок, и разгон получается плавным. Однако надёжность работы пневмопривода ниже, чем у механического.[2]

Обе описанные выше конструкции — и двухкамерный карбюратор с одновременным открытием заслонок, каждая из камер которого питает свою половину двигателя, и двухкамерный карбюратор с последовательным открытием заслонок, снабжающий рабочей смесью все цилиндры — имеют тот недостаток, что по мере увеличения рабочего объёма двигателя и числа его оборотов пропускной способности карбюратора всё же начинает не хватать для нормального наполнения его цилиндров. Поэтому на быстроходных двигателях большого рабочего объёма, особенно V-образных, как правило использовались четырёхкамерные карбюраторы с последовательным открытием дроссельных заслонок, у которых каждая пара из первичной и вторичной камер обслуживала свою группу цилиндров — например, на «Чайке» ГАЗ-13 каждая пара смесительных камер питала рабочей смесью два средних цилиндра одного ряда двигателя и два крайних другого (при этом использовался так называемый «двухэтажный» впускной коллектор со сложной разводкой каналов на двух уровнях по высоте, служащий для смягчения пульсации потока рабочей смеси). Как правило, каждая пара смесительных камер такого карбюратора имеет свою отдельную поплавковую камеру. Карбюраторы такого типа широко использовались на американских легковых автомобильных V8 выпуска 1960-х — 80-х годов (Rochester QuadraJet, Holley 4160 и др.), а также — двигателях советских легковых автомобилей «Чайка» и ЗИЛ (с карбюраторами моделей К-114, К-85) и некоторых дорогих европейских моделей (Solex 4A1).[4]
Карбюраторы типа Rochester QuadraJet примечательны использованной в них «компромиссной» системой открытия вторичных смесительных камер: привод вторичных дроссельных заслонок в них чисто механический, и при нажатии на педаль акселератора до конца они немедленно открываются. Однако путь потоку воздуха через вторичные камеры при этом преграждают расположенные в их каналах выше диффузоров специальные воздушные клапаны (Secondary Air Doors), открытие которых тормозится до момента повышения разрежения в диффузорах первичных камер выше определённого уровня за счёт противодействия со стороны связанной с ними тягой вакуумной диафрагмы пускового устройства. Только после достижения этого уровня вакуумная диафрагма перестаёт оказывать сопротивление открытию воздушных клапанов, и они открываются под воздействием потока засасываемого в карбюратор воздуха. Этим обеспечивается плавное введение вторичных камер в работу без ощутимого провала тяги, таким образом, воздушные клапаны вторичных камер в этой конструкции фактически выполняют ту же функцию, что и пневматический привод заслонок вторичных камер в других конструкция карбюраторов. Карбюраторы этого типа имеют очень большой диаметр дроссельных заслонок и диффузоров вторичных камер (и сравнительно малый — первичных), за счёт чего достигается экономия топлива на малых и средних оборотах, и при этом очень высокая потенциальная пропускная способность на больших (до 750…800 куб. футов в секунду). Однако на моторах сравнительно небольшого рабочего объёма и/или относительно тихоходных воздушные клапаны вторичных заслонок никогда не открываются полностью, что ограничивает фактический поток воздуха меньшими величинами — так, 5,7-литровый Chevrolet 350 Small-block V8 в заводском варианте потребляет не более 600 куб. футов рабочей смеси в секунду. Благодаря этому карбюраторы данного типа с минимальными изменениями и при сохранении всех основных корпусных деталей устанавливались и успешно работали на двигателях с рабочим объёмом от 3,7 до 6,5 и более литров. В качестве дозирующих элементов в них используются дозирующие иглы с фасонным переменным сечением (Metering Rods), которые имеют вакуумный привод (или привод от соленоидов на карбюраторах с электронным управлением): первичные — для режимов холостого хода, малых и средних оборотов и вторичные — для мощностных режимов. На рынке предлагается большое количество вариантов этих игл с различным профилем, позволяющих настроить карбюратор для тех или иных задач, причём замена вторичных Metering Rods не требует разборки карбюратора. Поплавковая камера — одна, расположена вблизи от геометрического центра карбюратора, что по заявлениям производителя практически устраняет колебания уровня топлива при резких разгонах и торможениях автомобиля.[6]

Четырёхкамерные карбюраторы Holley отличаются наличием двух полностью отдельных друг от друга поплавковых камер, одна из которых снабжает топливом две первичные смесительные камеры, а вторая — две вторичные. Диаметр дроссельных заслонок и диффузоров первичных и вторичных камер — одинаковый. Уровень топлива в поплавковых камерах выставляется без разборки карбюратора — регулировка осуществляется расположенным сверху на крышке поплавковой камеры регулировочным винтом со стопорной гайкой, меняющим высоту установки седла топливного клапана («иглы»), а уровень топлива при этом контролируется через прозрачный глазок.
Похожую компоновку с двумя независимо работающими поплавковыми камерами имеют также четырёхкамерные карбюраторы Edelbrock и советский карбюратор К-259 (ЗИЛ), однако у них каждая поплавковая камера снабжает бензином одну первичную и одну вторичную поплавковые камеры, а вторичные смесительные камеры имеют несколько больший диаметр диффузоров и дросселей, чем первичные.


Альтернативным вариантом являлось использование нескольких отдельных однокамерных карбюраторов с синхронизированным приводом дроссельных и воздушных заслонок, каждый из которых через короткие впускные трубы обслуживал один или два цилиндра. Такая конструкция более эффективна с точки зрения повышения мощности, чем один многокамерный карбюратор с длинным впускным коллектором, но также и более сложна в эксплуатации, в частности — весьма чувствительна к качеству настройки. Так, на английских спортивных автомобильных двигателях, а также некоторых моделях Volvo, Saab и Mercedes-Benz, использовались горизонтальные однокамерные карбюраторы постоянного разрежения типа SU (Skinner-Union), Zenith или Stromberg, с автоматическим клапаном в виде установленного поперёк воздушного канала цилиндрического золотника, который обеспечивает постоянство скорости воздуха и разрежения в диффузоре за счёт изменения его сечения в зависимости от величины нагрузки на двигатель. Золотник имеет вакуумный привод от разрежения в диффузоре, за счёт чего система приобретает свойство обратной связи: при падении разрежения в диффузоре золотник закрывается и уменьшает проходное сечение, восстанавливая заданную величину разрежения, и наоборот, чем обеспечивается эффективное смесеобразование при любых режимах работы двигателя. Для компенсации возможных колебаний золотника он снабжён гидравлическим (масляным) демпфером, также отчасти выполняющим роль ускорительного насоса за счёт некоторого замедления открытия золотника при резком открытии дроссельной заслонки, что вызывает временное обогащение рабочей смеси. С золотником связана коническая дозирующая игла со специальным профилем, которая регулирует сечение топливного жиклёра, управляющего подачей топлива на всех режимах работы двигателя. Карбюраторы упомянутых выше систем имели один и тот же принцип действия, но различное конструктивное исполнение; так, у карбюраторов SU золотник был плотно притёрт к стенкам расположенного в верхней части карбюратора цилиндра, а в других конструкциях — уплотнялся сверху резиновой диафрагмой. Такие карбюраторы устанавливались по одному на цилиндр или на каждые два цилиндра двигателя, что позволяло сократить длину впускных трубопроводов и за счёт этого обеспечить в них высокие скорости потока воздуха, а следовательно — избежать конденсации топлива, кроме того, обеспечивалась высокая точность дозировки состава рабочей смеси во всех режимах работы двигателя. Однако синхронизация установленных на один двигатель нескольких карбюраторов требовала высокой квалификации обслуживающего персонала и специального оборудования.[4][7]
На многоцилиндровых мотоциклетных двигателях по настоящее время широко применяются синхронизированные горизонтальные карбюраторы постоянного разрежения, по одному на каждый цилиндр, хотя и более примитивно устроенные по сравнению с автомобильными (связанное с этим упрощением конструкции некоторое ухудшение смесеобразования в данном случае малосущественно ввиду того, что мотоциклетные моторы работают преимущественно на высоких оборотах, до 10 000 об/мин и более, и при очень высокой скорости газообмена).

Все описанные выше карбюраторы постоянного разрежения имеют обычные дроссельные заслонки с осью, золотник же приводится в действие вакуумом автоматически, в зависимости от положения дроссельной заслонки и величины разрежения в диффузоре. От них следует отличать внешне отчасти схожие с ними мотоциклетные горизонтальные карбюраторы переменного разрежения, имеющие дроссель шиберного типа (скользящий вверх-вниз) с прямым приводом от акселератора, и не имеющие дроссельной заслонки в привычном понимании этого слова. В прошлом они благодаря простоте конструкции и дешевизне широко использовали на мотоциклетной технике, в частности — на всех массовых отечественных мотоциклах, но впоследствии практически вышли из употребления, за исключением малокубатурных скутеров, газонокосилок и т. п. применений, из-за наличия у них неустранимых недостатков — в частности, провала тяги при резком открытии дросселя (что является обратной стороной предельной простоты конструкции такого карбюратора).[8]

Конструкция топливной аппаратуры с несколькими синхронизированными карбюраторами различных типов широко применялась (и применяется) также на оппозитных двигателях, в которых из-за расположения цилиндров на большом удалении друг от друга каналы впускного коллектора имели бы очень большую длину, обуславливающую большие газодинамические потери и возможность расслаивания рабочей смеси по пути в цилиндр (автомобильные оппозитные моторы Alfa-Romeo, мотоциклетные BMW, М-72, «Урал», «Днепр-МТ10»).
Аналогично устроенная система питания использовалась на двигателях самолётов с большим числом цилиндров, при этом общее число карбюраторов могло достигать более двух десятков — что обеспечивало их огромную общую пропускную способность. Достижение аналогичных параметров с одним карбюратором и «ветвистым» общим коллектором с каналами сложной формы — в принципе невозможно.
В США в 1960-х годах на быстроходных автомобилях была популярна установка нескольких карбюраторов с одновременным открытием дроссельных заслонок на один впускной коллектор V-образного восьмицилиндрового двигателя большого рабочего объёма, при этом как правило одна из камер каждого из карбюраторов обслуживала одну половину коллектора (и, соответственно, связанные с ней четыре цилиндра), а вторая — другую (и остальные цилиндры). Например, на некоторых автомобилях концерна Chrysler за доплату была доступна топливная аппаратура Six Pack, представлявшая собой три двухкамерных карбюратора, установленных на один впускной коллектор, причём в режиме малых и средних нагрузок питание двигателя осуществлялось лишь от одного из них (центрального), а два крайних вступали в работу лишь при высоких нагрузках. Аналогично была устроена предлагавшаяся на автомобилях Pontiac (марка концерна General Motors) система Tri power, состоявшая из трёх двухкамерных карбюраторов модели Rochester 2G, центральный из которых работал постоянно, а два крайних — подключались к работе только при нажатии на педаль акселератора почти до упора, обеспечивая великолепный разгон в режиме «педаль в пол» ценой огромного расхода топлива.
На автомобилях с форкамерно-факельным зажиганием использовались специальные трёхкамерные карбюраторы, например, типа К-156 на «Волге» ГАЗ-3102 с двигателем 4022.10. Третья камера, параллельная основной первичной, служила для приготовления сильно обогащённой смеси, подававшейся в форкамеру, в то время как в основные камеры подавалась обеднённая смесь.
По типу вентиляции поплавковой камеры
Различают карбюраторы балансированные и небалансированные. В последнем случае воздух поступает в поплавковую камеру не из полости воздушного фильтра, а непосредственно из атмосферы, что упрощает и удешевляет конструкцию, в то же время делая её чувствительной к состоянию воздушного фильтра — по мере его загрязнения смесь становится всё более богатой.
На более-менее современных конструкциях вентиляция поплавковой камеры карбюратора соединяется с абсорбером (ёмкостью с активированным углём), обеспечивающим улавливание паров топлива с целью соблюдения экологических нормативов. Впоследствии накопленные в абсорбере пары бензина, поступающие из системы вентиляции поплавковой камеры и также бензобака, через специальный клапан дозировано подаются на впуск двигателя при определённых режимах его работы и сжигаются в цилиндрах.
Распространение
В настоящее время на автомобилях инжекторные системы подачи топлива в большинстве случаев заменили карбюраторы. Это связано с преимуществом инжектора с точки зрения простоты в эксплуатации и снижения вредных выбросов в атмосферу — только система впрыска топлива с микрокомпьютерным управлением может в течение длительного времени (сотни тысяч километров пробега) сохранять выхлоп автомобиля в рамках современных экологических требований и обеспечивать более точное, по сравнению с карбюратором, дозирование топлива на всех режимах двигателя.
Между тем, карбюраторы всё ещё широко используются на мототехнике, экологические требования к которой обычно намного менее жёсткие, чем к автотранспорту. Так, даже многие современные спортивные мотоциклы продолжают оснащаться карбюраторами, причём ввиду смягчения лицензионных требований всё чаще — постоянного разрежения, так как они не уступают системам впрыска по многим экологическим параметрам, будучи на порядок проще и дешевле.
Кроме того, карбюраторы широко применяются на стационарных и генераторных двигателях, а также в бензоинструменте (газонокосилки, бензопилы и так далее).
Преимущества и недостатки
Главными достоинствами карбюратора являются высокая гомогенность смеси на выходе, низкая стоимость, технологическая доступность при изготовлении, относительная простота в обслуживании и ремонте применительно к карбюраторам для массовых несложных двигателей. В отличие от инжекторных систем, требующих электрического питания, карбюратор работает исключительно за счёт энергии потока всасываемого двигателем воздуха, что позволяет использовать карбюратор на двигателях, не оснащённых электрооборудованием (лодочные моторы, газонокосилки, бензопилы). Но в случае сложного двигателя или сложных режимов его работы (а все современные автомобильные бензиновые двигатели относятся именно к этой категории) карбюратор становится очень сложным узлом, элементы которого должны быть изготовлены с очень высокой точностью, а его настройка требует довольно высокого уровня подготовки технического персонала и сложных пневмогидравлических стендов. Например, на последних поколениях карбюраторов, применяемых на мощных автомобилях Audi и BMW было до 8 смесительных камер, каждая из которых оснащалась четырьмя индивидуальными дозирующими системами (главная, эконостат, холостого хода и переходных режимов) при этом разброс их параметров не должен превышать 5 %. В то же время для целой армии относительно несложных двигателей для различных сервисных устройств карбюратор ещё долго останется незаменимым.
Относительным недостатком карбюратора, ставшим основной причиной его вытеснения как основы автомобильных систем питания, является невозможность обеспечить смесь индивидуального состава для каждой вспышки — инжекторные системы с распределённым впрыском действуют именно таким образом, обеспечивая наибольшую экологичность работы двигателя.
См. также
- Инжекторная система подачи топлива
- Донат Банки и Янош Чонка — изобретатели карбюратора
Примечания
- ↑ ПАО «Заволжский моторный завод» ДВИГАТЕЛЬ ЗМЗ-52342.10 со сцеплением. Руководство по ремонту Архивная копия от 14 февраля 2019 на Wayback Machine. г. Заволжье, 2015.
- 1 2 3 Пневмопривод на «Озоне». Архивная копия от 3 сентября 2018 на Wayback Machine «За рулём», № 12 за 1981 год.
- ↑ А. В. Карягин, Г. М. Соловьёв. Устройство, обслуживание и правила движения автомобилей. Архивная копия от 3 сентября 2018 на Wayback Machine Учебное пособие для подготовки водителей автомобилей (шофёров 3-го класса).
- 1 2 3 4 5 Владимир Иванович Грибанов, Владимир Андреевич Орлов. Карбюраторы двигателей внутреннего сгорания. Архивная копия от 4 сентября 2018 на Wayback Machine Машиностроение, 1967 г.
- ↑ Канд. техн. наук А. Дмитриевский. Карбюраторы К-151. Архивная копия от 1 сентября 2018 на Wayback Machine «Грузовик-пресс», № 12 за 2004 г.
- ↑ QuadraJeT Service Manual, GM / AC Delco, 1973 г. Дата обращения: 19 июля 2019. Архивировано 24 февраля 2021 года.
- ↑ Ю. Казедорф. Карбюраторы зарубежных автомобилей Архивная копия от 29 марта 2017 на Wayback Machine (пер. с нем.) «За рулём», 1998 г.
- ↑ Ю. Попов. Японский миксер для «Урала». Архивная копия от 20 июля 2019 на Wayback Machine «Мото», номер 04/1999, стр. 63)
Литература
- Юрген Казердорф. Карбюраторы зарубежных автомобилей (Vergaser testen undeinstellem). — 2-е, испр. и доп. — М.: За рулём, 2000. — 192 с.
- А. В. Дмитриевский, В. Ф. Каменев. Карбюраторы автомобильных двигателей. — М.: Машиностроение, 1990. — 223 с.
- Росс Твег. Системы впрыска бензина. — М.: За рулём, 1999. — 144 с.
- А. С. Хачиян, К. А. Морозов, В. Н. Луканин и соавторы. Двигатели внутреннего сгорания. Учебник для ВУЗов. — 2. — М.: Высшая школа, 1985, с изменениями. — 311 с.
- Грибанов В. И., Орлов В. А. Карбюраторы двигателей внутреннего сгорания. — Л.: Машиностроение, 1967. — 284 с.