Железобетон


Железобето́н (нем. Stahlbeton) — распространëнный строительный материал, состоящий из бетона и стали. Изобретён железобетон французом Жозефом Монье, построившим несколько конструкций из нового материала, арматура в конструкции располагалась в центре её сечения[1]. Запатентован им в 1867 году[2]. В 1885 году Монье построил из железобетона пешеходный мост[1].
История
- В 1802 году при строительстве Царскосельского дворца российские зодчие использовали металлические стержни для армирования перекрытия, выполненного из известкового бетона.
- В 1829 году английский инженер Фокс создал армированное металлом бетонное перекрытие.
- В 1849 году во Франции Ламбо построил лодку из армоцемента.
- В 1854 году У. Б. Уилкинсон в Англии получил патент на огнестойкое железобетонное перекрытие.
- В 1861 году во Франции Ф. Куанье опубликовал книгу о 10-летнем опыте применения железобетона, а в 1864 году он построил церковь из железобетона.
- В 1865 году У. Б. Уилкинсон построил в Англии дом из железобетона.
- В 1867 году Ж. Монье, которого часто считают «автором» железобетона, получил патент на кадки из армоцемента.
- В 1868 году Ж. Монье построил железобетонный бассейн, а с 1873 по 1885 годы получил патенты на железобетонный мост, железобетонные шпалы, железобетонные перекрытия, балки, своды и железобетонные трубы.
- В 1875 году Ж. Монье построил перекинутый через ров замка маркиза де Тилиэра во французском городке Шазле первый пешеходный железобетонный мост длиной 16 м и шириной 4 м[3].
- В 1877 году первая книга по железобетону опубликована Т. Хайэттом в США.
- В 1879 году Дмитрий Жаринцов первым в России применил железобетон при строительстве порохового склада в Батуми.
- В 1884 году профессор механики И. Баушингер и инженер Г. А. Вайс выполнили в Германии первые широко поставленные исследования для изучения особенностей работы железобетонных конструкций[3].
- С 1884 по 1887 годы в Москве осуществлялось применение железобетона при устройстве плоских перекрытий, сводов, резервуаров. В это же время проводились испытания конструкций, были реализованы железобетонные перекрытия по металлическим балкам.
- В 1886 году в США П. Джексон подал заявку на патент на использование преднапряжения арматуры при строительстве мостов.
- В 1886—1887 годах инженер М. Кёнен в Германии разрабатывает первый способ расчёта железобетонных конструкций.
- В 1888 году патент на преднапряжение получен в Германии В. Дерингом, в 1896 году в Австрии И. Манделем, в 1905—1907 годах в Норвегии И. Лундом, в 1906 году в Германии М. Кененом.
- В 1891 году в России профессор Н. А. Белелюбский завершает пятилетний цикл широкомасштабных исследований железобетонных плит, балок, арок и мостов[3]. В этом же году выходит книга инженера Д. Ф. Жаринцева «Слово о бетонных постройках», а в 1893 году — «Железобетонные сооружения».
- С 1892 по 1899 годы во Франции Ф. Геннебиком реализовано более 300 проектов с применением железобетона.
- В 1895 году на втором съезде зодчих в России выступает А. Ф. Лолейт, создавший впоследствии основные положения современной теории железобетона.
- В 1899 году инженерный совет министерства официально разрешает применять железобетон в России.
- В 1904 году в Германии и Швеции появились первые нормы по проектированию и применению железобетонных конструкций, позже, в 1906 году — во Франции, а в 1908 году — в России.
- В 1908 году в Ливерпуле начато строительство Royal Liver Building — одного из первых высотных (98 м) железобетонных зданий в мире.
- В 1895 для ускорения процесса строительства Храма в честь Успения Пресвятой Богородицы в Санкт-Петербурге на Васильевском острове гражданским архитектором Косяковым В. А. было решено использовать, вместо кирпича, железобетон для устройства основных арок и уже 18 (30) декабря 1897 года был освящён Главный придел.
- В 1896 году в Нижнем Новгороде построен пешеходный мост пролетом свыше 40м[4].
- В 1904 году в Николаеве сооружен первый в мире железобетонный маяк[4].
- В 1912 построена первая в России железобетонная конструкция — Рыбинская каланча.
- В 1913—1916-е годы в России построена первая железобетонная Церковь Спаса Нерукотворного Образа в Клязьме[5].
Развитие теории железобетона в России в первой половине 20 века связано с именами А. Ф. Лолейта, А. А. Гвоздева, В. В. Михайлова, М. С. Боришанского, А. П. Васильева, В. И. Мурашева, П. Л. Пастернака, Я. В. Столярова, О. Я. Берга и других.
В XX веке железобетон стал наиболее распространённым материалом в строительстве (см. Пьетро Нерви) и сыграл значительную роль в становлении таких направлений архитектуры, как модернизм и функционализм.
Характеристики
К положительным качествам железобетонных конструкций относятся:
- долговечность;
- низкая стоимость — железобетонные конструкции значительно дешевле стальных;
- пожаростойкость в сравнении со сталью;
- технологичность — несложно при бетонировании получать любую форму конструкции;
- химическая и биологическая стойкость;
- высокая сопротивляемость статическим и динамическим нагрузкам.
К недостаткам железобетонных конструкций относятся:
- невысокая прочность при большой массе — прочность бетона при сжатии в среднем в 10 раз меньше прочности стали. В больших конструкциях железобетон «несёт» больше своей массы, чем полезной нагрузки.
Выделяют сборный железобетон (ж/б конструкции изготавливаются в заводских условиях, затем монтируются в готовое сооружение) и монолитный железобетон (сборка арматурного каркаса, выставление съëмной опалубки и бетонирование с помощью автобетононасосов — работы выполняются непосредственно на строительной площадке), а также сборно-монолитный (сборные конструкции используются как несъëмная опалубка — сочетаются преимущества монолитных и сборных конструкций). Имеется достаточно широкий ассортимент готовых стандартизированных железобетонных изделий, таких как колодезные кольца, плиты перекрытий, сваи, опоры, фундаментные блоки и так далее.
Основные принципы проектирования и расчёта железобетонных конструкций
В России железобетонные элементы принято рассчитывать: по 1-й и 2-й группе предельных состояний:
- по несущей способности (прочность, устойчивость, усталостное разрушение);
- по пригодности к нормальной эксплуатации (трещиностойкость, чрезмерные прогибы и перемещения).
Задачи расчёта железобетонных конструкций по 1-й группе предельных состояний включают:
- проверка прочности конструкций (нормальные, наклонные, пространственные сечения);
- проверка конструкции на выносливость (при действии многократно повторных нагружений);
- проверка устойчивости конструкций (формы и положения).
Армирование конструкций выполняется, как правило, отдельными стальными стержнями или сетками, каркасами. Диаметр стержней и характер их расположения определяется расчётами. При этом соблюдается следующий принцип — арматура устанавливается в растянутые зоны бетона либо в сжатые зоны при недостаточной прочности последней, а также по конструктивным соображениям.
При расчёте железобетонных изгибаемых элементов основной целью является определение требуемой площади рабочей арматуры в соответствии с заданными усилиями (прямая задача) или определение действительной несущей способности элемента по заданным геометрическим и прочностным параметрам (обратная задача).
По характеру работы выделяют изгибаемые элементы (балки, плиты), центрально и внецентренно сжатые элементы (колонны), растянутые элементы (элементы ферм).
Изгибаемые элементы (балки, плиты)
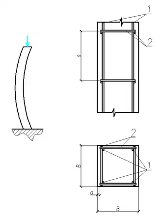
При изгибе любого элемента в нём возникает сжатая и растянутая зоны (см. рисунок), изгибающий момент и поперечная сила. Изгибаемые железобетонные элементы, как правило, рассчитывают по прочности следующих видов сечений:
- по нормальным сечениям — сечениям, перпендикулярным продольной оси, от действия изгибающего момента,
- по наклонным сечениям — при действии поперечных сил (срез или раздавливание сжатой зоны бетона), по наклонной полосе между наклонными сечениями (трещинами), от действия момента в наклонном сечении.
В типичном случае армирование балки выполняется продольной и поперечной арматурой (см. рисунок).

Элементы конструкции:
- Верхняя (сжатая) арматура
- Нижняя (растянутая) арматура
- Поперечная арматура
- Распределительная арматура
Верхняя арматура может быть растянутой, а нижняя сжатой, если внешняя сила будет действовать в противоположном направлении.
Основные параметры конструкции:
- L — пролёт балки или плиты, расстояние между двумя опорами. Обычно составляет от 3 до 25 метров
- H — высота сечения. С увеличением высоты прочность балки растёт пропорционально H²
- B — ширина сечения
- a — защитный слой бетона. Служит для защиты арматуры от воздействия внешней среды
- s — шаг поперечной арматуры.
Арматура (2), устанавливаемая в растянутую зону, служит для упрочнения железобетонного элемента, бетон в которой в силу своих свойств быстро разрушается при растяжении. Арматура (1) в сжатую зону устанавливается обычно без расчёта (из необходимости приварить к ней поперечную арматуру), в редких случаях верхняя арматура упрочняет сжатую зону бетона. Растянутая арматура и сжатая зона бетона (и иногда сжатая арматура) обеспечивают прочность элемента по нормальным сечениям (см. рисунок).

Поперечная арматура (3) служит для обеспечения прочности наклонных или пространственных сечений (см. рисунок).

Распределительная арматура (4) имеет конструктивное назначение. При бетонировании она связывает арматуру в каркас.
Разрушение элемента в обоих случаях наступает вследствие разрушения бетона растягивающими напряжениями. Арматура устанавливается в направлении действия растягивающих напряжений для упрочнения элемента.
Небольшие по высоте балки и плиты (до 150 мм) допускается проектировать без установки верхней и поперечной арматуры.
Плиты армируются по такому же принципу, как и балки, только ширина B в случае плиты значительно превышает высоту H, продольных стержней (1 и 2) больше, они равномерно распределены по всей ширине сечения.
Кроме расчёта на прочность, для балок и плит выполняется расчёт на жёсткость (нормируется прогиб в середине пролёта при действии нагрузки) и трещиностойкость (нормируется ширина раскрытия трещин в растянутой зоне).
Сжатые элементы (колонны)
При сжатии длинного элемента для него характерна потеря устойчивости (см. рисунок). При этом характер работы сжатого элемента несколько напоминает работу изгибаемого элемента, однако в большинстве случаев растянутой зоны в элементе не возникает.
Если изгиб сжатого элемента значителен, то он рассчитывается как внецентренно сжатый. Конструкция внецентренно сжатой колонны сходна с центрально сжатой, но в сущности эти элементы работают (и рассчитываются) по-разному. Также элемент будет внецентренно сжат, если, кроме вертикальной силы, на него будет действовать значительная горизонтальная сила (например, ветер, давление грунта на подпорную стенку).
Типичное армирование колонны представлено на рисунке.

1 — продольная арматура
2 — поперечная арматура
В сжатом элементе вся продольная арматура (1) сжата, она воспринимает сжатие наряду с бетоном. Поперечная арматура (2) обеспечивает устойчивость арматурных стержней, предотвращает их выпучивание.
Массивными считаются колонны, минимальная сторона сечения которых более или равна 400 мм. Массивные сечения обладают способностью к наращиванию прочности бетона длительное время, то есть с учётом возможного увеличения нагрузок в дальнейшем (и даже возникновения угрозы прогрессирующего разрушения — террористические атаки, взрывы и т. д.) — они имеют преимущество перед колоннами немассивными. Т. о. сиюминутная экономия сегодня не имеет смысла в дальнейшем, и, кроме этого, малые сечения нетехнологичны при изготовлении. Необходим баланс между экономией, массой конструкции и т. н. жизнеутверждающим строительством (Sustainable construction).
Изготовление железобетонных конструкций
Изготовление железобетонных конструкций включает в себя следующие технологические процессы:
- Подготовка арматуры
- Опалубочные работы
- Армирование
- Бетонирование
- Уход за твердеющим бетоном
Изготовление сборных железобетонных конструкций

Сущность сборных железобетонной конструкций, против монолитных, состоит в том, что конструкции изготавливаются на заводах ЖБИ (железобетонных изделий), а затем доставляются на стройплощадку и монтируются в проектное положение. Основное преимущество технологии сборного железобетона в том, что ключевые технологические процессы происходят на заводе. Это позволяет достичь высоких показателей по срокам изготовления и качеству конструкций. Кроме того, изготовление предварительно напряжённых ЖБК возможно, как правило, только в заводских условиях.
Недостатком заводского способа изготовления является невозможность выпускать широкий ассортимент конструкций. Особенно это относится к разнообразию форм изготавливаемых конструкций, которые ограничиваются типовыми опалубками. Фактически на заводах ЖБИ изготавливаются только конструкции, требующие массового применения. В свете этого обстоятельства, широкое внедрение технологии сборного железобетона приводит к появлению большого количества однотипных зданий, что, в свою очередь, приводит к уменьшению затрат на строительство. Такое явление наблюдалось в СССР в период массового строительства.
Большое внимание на заводе ЖБИ уделяется технологической схеме изготовления. Используется несколько технологических схем:
- Конвейерная технология. Элементы изготовляют в формах, которые перемещаются от одного агрегата к другому. Технологические процессы выполняются последовательно, по мере перемещения формы.
- Поточно-агрегатная технология Технологические операции производят в соответствующих отделениях завода, а форма с изделием перемещается от одного агрегата к другому кранами.
- Стендовая технология. Изделия в процессе изготовления остаются неподвижными, а агрегаты перемещаются вдоль неподвижных форм.
В конвейерной и поточно-агрегатной технологиях используется опалубочный метод формования.
Для изготовления предварительно напряжённых конструкций применяют два способа создания предварительного напряжения: натяжение на упоры и натяжение на бетон, а также два основных способа натяжения арматуры: электротермический и электротермомеханический. Разновидностью стендовой технологии является технология по методу безопалубочного формования (БОФ) с использованием предварительного напряжения. Оборудование линии безопалубочного производства включает:
- Машина для чистки дорожек;
- Машина для раскладывания арматуры;
- Формующая машина;
- Резательные машины;
- Пакетировщик;
- Натягивающее устройство;
- Блок снятия напряжения;
- Заклёпочная машина;
- Формующая машина для фактурного слоя;
- Машина для заглаживания поверхности;
- Бункер для подачи бетона;
- Траверса;
- Машина для перфорирования;
- Направляющая пресс-форма.
Применяют формующие машины безопалубочного формования технологии слипформования, вибропрессования и технологии экструзии.
Изготовление монолитных железобетонных конструкций

При изготовлении монолитных железобетонных конструкций следует учитывать, что физико-механические характеристики арматуры относительно стабильны, а вот те же характеристики бетона изменяются во времени. Необходимо всегда находить компромисс между запасами при конструировании и проектировании (выбор форм и сечений — выбор между надёжностью, «жизнью», но тяжестью массивных конструкций и между изяществом, ажурностью, лёгкостью, но «мёртвостью» конструкций с большим модулем поверхности), стоимостью и качеством исходных материалов, затратами на изготовление монолитных железобетонных конструкций, усилением оперативного контроля работниками ИТР на всех этапах, назначением мероприятий по уходу за бетоном, защитой его во времени (созданием условий для наращивания во времени его характеристик, что может понадобиться к моменту начала эксплуатации для сопротивления прогрессирующему разрушению), контролем динамики набора основных прочностных и деформативных характеристик бетона[6][7]. То есть очень много зависит от того, с чьих позиций проектируют конструкции и технологию, исполняют и контролируют работы, и что ставится во главу угла: надёжность и долговечность, экономичность, технологичность выполнения, безопасность эксплуатации, возможность дальнейшего применения путём усилений и реконструкций, так называемый рациональный подход, то есть проектирование от обратного (сначала думаем, как следующие поколения будут всё это разбирать и заново использовать)[8].
Защита железобетонных конструкций полимерными материалами
Для защиты железобетонных конструкций применяются специальные полимерные составы, позволяющие изолировать поверхностный слой железобетона от негативных влияний внешней среды (химические агенты, механические воздействия). Для защиты железобетонного основания применяют различные типы защитных конструкций, позволяющих модифицировать эксплуатационные свойства минеральной поверхности — увеличить износостойкость, уменьшить пылеотделение, придать декоративные свойства (цвет и степень блеска), улучшить химическую стойкость. Полимерные покрытия, наносимые на железобетонные основания, классифицируют по типам: обеспыливающие пропитки, тонкослойные покрытия, наливные полы, высоконаполненные покрытия.
Другой метод защиты железобетонных конструкций заключается в покрытии арматуры фосфатом цинка[9]. Фосфат цинка медленно реагирует с коррозирующим химикатом (например, щёлочью) образуя устойчивое апатитное покрытие.
Для защиты железобетонных конструкций от воздействия воды и агрессивных сред также применяется проникающая гидроизоляция, которая модифицирует структуру бетона, увеличивая его водонепроницаемость, что предотвращает разрушение бетонных конструкций и коррозию арматуры.
Усиление и восстановление железобетонных конструкций композитными материалами
Применение композиционных материалов для усиления железобетонных конструкций

Усиление композитами используются для продольного и поперечного армирования стержневых элементов, для создания армирующих усиляющих оболочек на колоннах и опорах мостов, эстакад, консолях колонн, для усиления плит, оболочек, элементов ферм и других конструкций.
История применения
Первым крупным объектом в России, где применялось усиление композитными материалами (в частности, фиброармированный пластик — ФАП-арматура) стала эстакада третьего транспортного кольца в Москве в 2001 году[10].
Применение композиционных материалов имеет следующие преимущества:
- предупреждает трещинообразование;
- помогает избежать возникновения индукционных токов (армирование трансформаторной подстанции без использования металла на ГАЭС Штаузее Капрун);
- коррозионостойкость;
- отсутствие помех при передаче сигнала на железной дороге;
- отсутствие нагрева вследствие индукционных потоков вблизи стрелочных переключателей;
Примеры
- устои головного сооружения деривационного канала Кондопожской ГЭС, по которым проходит железная дорога Санкт-Петербург — Мурманск;
- железные дороги на гидроузле Волжского створа Рыбинской ГЭС, на плотинах Саратовской и Братской ГЭС.
Конструирование
Рациональной степенью усиления с помощью системы ФАП является диапазон 10-60 % от начальной несущей способности усиливаемой конструкции[11]. Прочность сцепления материала усиления в подавляющем случае выше прочности на растяжение наиболее распространённых конструктивных бетонов (до класса В60).
Применение современных материалов и технологий наклейки внешнего армирования при должном контроле качества строительных работ практически исключает возможность расслаивания конструкции по границе ФАП-бетон.
Численный эксперимент, где работа бетона была показана с помощью критерия прочности Вилльяма и Варнке, показал, что вклад ФАП в общую прочность наклонного сечения в значительной мере зависит от наличия и процента армирования стальной поперечной арматурой. С увеличением процента армирования стальной арматурой эффективность системы усиления снижается. Основной вид разрушения усиленной балки — выкол бетона основания, начинающийся с точек максимальных главных растягивающих напряжений у свободных концов хомутов внешнего армирования[12].
Внешнее армирование железобетонных конструкций углеволокном
Системы внешнего армирования — наборы углеродных материалов, полимерных связующих, специальных праймеров, шпаклёвок и ремонтных смесей, предназначенных для структурного усиления строительных конструкций: железобетонных, кирпичных, каменных или деревянных. Суть данного метода заключается в повышении прочности элементов, воспринимающих нагрузки в процессе эксплуатации зданий и сооружений, с помощью углеродных тканей, ламелей и сеток. Усиление строительных конструкций углеволокном повышает несущую способность без изменения структурной схемы объекта.
Преимущества усиления конструкций углеволокном
- Сокращение общих затрат на проведение работ по ремонту и усилению строительных конструкций;
- Сокращение временных затрат;
- Сокращение трудовых затрат;
- Возможность выполнения работ без остановки эксплуатации объекта;
- Увеличение межремонтного периода;
- Малый собственный вес и толщина усиления;
- Минимальные требования к пространству для выполнения работ;
- Устойчивость к агрессивным средам и коррозии;
- Высокие механические характеристики углеродных материалов и высокая адгезия к усиливаемой конструкции;
- Отсутствие сварочных работ.
Недостатки усиления конструкций углеволокном
- Высокая стоимость материалов;
- Адгезивы (клеи) не стойкие к УФ-лучам (решается при помощи присыпки кварцевым песком по свежеуложенному материалу);
- Необходима огнезащита конструкций.
См. также
Примечания
- 1 2 Васильев А. Основы теории надёжности автодорожных мостов и тоннелей. Александр Васильев. 2024. с. 25
- ↑ Железобетон // Казахстан. Национальная энциклопедия. — Алматы: Қазақ энциклопедиясы, 2005. — Т. II. — ISBN 9965-9746-3-2. (CC BY-SA 3.0)
- 1 2 3 Саламахин П. М., Попов В.И. . Автодорожные и городские мосты в России. — М.: МАДИ, 2017. — 124 с. Архивировано 7 января 2018 года. — С. 34.
- 1 2 Маилян Р. Л., Маилян Д. Р., Веселев Ю. А. Строительные конструкции. Учебное пособие. — 2-е изд. — Ростов-на-Дону: Феникс, 2005. — С. 13. — 880 с. — ISBN 5-222-07026-3.
- ↑ Соборы.ру (недоступная ссылка)
- ↑ «Анализ технологических факторов, возникающих при возведении вертикальных конструкций каркасно-монолитных зданий» Архивная копия от 23 сентября 2015 на Wayback Machine, Булавицкий М. С.
- ↑ Неоднородность распределения свойств тяжёлого бетона по объёму вертикальных монолитных элементов. Дата обращения: 1 июля 2010. Архивировано 23 сентября 2015 года.
- ↑ Site of experimental and theoretical works of M. Bulavytskyi. Дата обращения: 5 мая 2010. Архивировано 28 мая 2013 года.
- ↑ «Effect of zinc phosphate chemical conversion coating on corrosion behaviour of mild steel in alkaline medium: protection of rebars in reinforced concrete» Sci. Technol. Adv. Mater. 9 (2008) 045009 скачать бесплатно
- ↑ Юшин А. В. Прочность наклонных сечений многопролётных железобетонных конструкций, усиленных фиброармированными пластиками. Автореферат дис. … канд. тех. наук : 05.23.01 / Юшин, Алексей Владимирович; СпбГАСУ. — СПб., 2014. — 17 с.// Yushin A. V. Prochnost' naklonnyh sechenij mnogoproletnyh zhelezobetonnyh konstrukcij, usilennyh fibroarmirovannymi plastikami. Avtoreferat dis. … kand. teh. nauk : 05.23.01 / Jushin, Aleksej Vladimirovich; SpbGASU. — SPb., 2014. — 17 s
- ↑ пункт 1.4. СТО НОСТРОЙ 2.6.90-2013. Применение в строительных бетонных и геотехнических конструкциях неметаллической композитной арматуры. М.: Филиал ОАО ЦНИИС «НИЦ „Тоннели и метрополитены“», 2012. 130 с. // STO Nostroy — 43. Primenenie v stroitel’nyh betonnyh i geotekhnicheskih konstrukciyah nemetallicheskoy kompozitnoy armatury. Moscow: Filial OAO CNIIS «NIC „Tonneli i metropoliteny“», 2012. 130 s.
- ↑ Юшин А. В., Морозов В. И. // Анализ напряженно-деформированного состояния двухпролётных железобетонных балок, усиленных композитными материалами по наклонному сечению, с учётом нелинейности/ Современные проблемы науки и образования — № 5 2014.
Литература
Справочная литература
- Бетон // Военная энциклопедия : [в 18 т.] / под ред. В. Ф. Новицкого … [и др.]. — СПб. ; [М.] : Тип. т-ва И. Д. Сытина, 1911—1915.
- Лопатто А. Артур Фердинандович Лолейт. К истории отечественного железобетона. — М.: Стройиздат, 1969. — 104 с.
Нормативная литература
- СП 63.13330.2012 Бетонные и железобетонные конструкции. Основные положения. Актуализированная редакция СНиП 52-01-2003.
- СП 27.13330.2011 Бетонные и железобетонные конструкции, предназначенные для работы в условиях воздействия повышенных и высоких температур. Актуализированная редакция СНиП 2.03.04-84.
- СП 41.13330.2012 Бетонные и железобетонные конструкции гидротехнических сооружений. Актуализированная редакция СНиП 2.06.08-87.
- СП 52-101-2003 Бетонные и железобетонные конструкции без предварительного напряжения арматуры.
- СНиП 52-01-2003 Бетонные и железобетонные конструкции. Основные положения.
- СП 52-110-2009 Бетонные и железобетонные конструкции, подвергающиеся технологическим повышенным и высоким температурам.
- СНиП 2.03.02-86 Бетонные и железобетонные конструкции из плотного силикатного бетона.
- ГОСТ 28570-90 Бетоны. Методы определения прочности по образцам, отобранным из конструкций.
- ГОСТ 17625-83 Конструкция и изделия железобетонные. Радиационный метод определения толщины защитного слоя бетона, размеров и расположения арматуры.
- ГОСТ 22904-93 Конструкции железобетонные. Магнитный метод определения толщины защитного слоя бетона и расположения арматуры.